
Te Tms320c6421ZZT5 Ko te kaiwhakawai tohu mamati nui-mahi (DSP) i whakawhanakehia e Texas Tohutoro hei waahanga o tana whanau TMS320C64X +.I hangaia i runga i te hoahoanga Velociti.2 VliW, e tuku ana tenei taputapu i nga mahi tukatuka tika i hangaia mo te whakahaere tohu i roto i nga punaha whakauru hou.Ma te tere o te karaka tae atu ki te 500 mhz, ka taea te whakahaere i nga tohutohu maha mo ia huringa, te mea e tika ana mo te whānuitanga o nga mahi tukatuka.Mo te papaa whanui a TMS320C6000 DSP, Ko nga raupapa C6421 e kawe ana i nga taonga puoro a Texas ki te panui me nga otinga-hototahi.Hei waahanga o te whanau whakamatauria o nga kaiwhakaari e whakawhirinaki ana ki te ao, ko te TMS320c6421ZZWT5 e tuku ana i tetahi turanga pono mo nga hoahoa mo te waa-roa.
Kei te titiro mo te TMS320C6421ZZT5?Whakapā mai ki a maatau ki te tirotiro i nga taonga o naianei, te waa arataki, me te utu.

TMS320C6421ZZT5 tohu

TMS320C6421ZWT5 Wahanga

TMS320C6421ZZT5 3D tauira 3D
• He mahi nui te DSP matua
Ko te taputapu e whakahaerehia e te Velociti.2 ™ vliw matua, kaha ki te whakahaere i te waru o nga tohutohu i roto i te huringa kotahi.Ma tenei hoa hoahoatanga e kaha ai te whakauru nui, kia pai ai mo nga mahi tukatuka tohu.
• Tuhinga ka whai mai
Kei te whakauru i nga waahanga arorau e ono (ALUS) me nga tini whakarei kaha, e taea ai te whakahaere i nga mahi maha i te wa kotahi.Ka tautokohia e tenei hoahoa nga mahi a te matutanga kaha penei i te tātari, te whakarereke, me te whakauru.
• Mahara i runga i te maharatanga i runga i te maramara
Kei roto i te kaiwhakawhitiwhiti te 16 o te keteroki o te papatono, 48 kb te keteroki raraunga, me te 64 kb o te mahara L2.Ko enei rauemi o roto he whakaheke i te waatea me te tautoko i te whakatutukitanga tere o nga tono.
• Ko nga atanga mahara DDR2 me te Flash Flash
Kei roto i te maramara te 'bit ddr2 SDRAM 16-bit me te Exif Asynchnous e 8-bit mo te mahara o waho penei me te uira.Ka taea e tenei waatea te whakawhānui i te mahara ki nga tono nui ake.
• Tautoko Peipileral
Ka whakarato i te maha o nga hononga tae atu ki te UART, i²c, MCBSP, MCSP me Spdif, me te atanga tauranga patu 16-bit.Ko enei hei whakarite i te kaitukatuka mo te telecom, oro, me nga punaha ahumahi.
• Whakarei ake dma rangatira dma (Edma)
Ko te kaiwhakahaere DMA DMA e 64-hongere e tautoko ana i te whakawhiti raraunga tere i waenga i nga mahara me nga peripherals.Ma tenei ka whakaiti i te kawenga a te CPU ka whakapai ake i nga mahi a te punaha.
• Whatunga me te hono
Ko te maramara e whakauru ana i te 10/100 Ethernet Mac me te tautoko MII / RMII me te atanga Vlynq mo te honohono o waho.Ko enei waahanga ka tika mo nga tono whakauru-whatunga-whatunga.
• Whanui Whanui-Point i / O
Ka tae atu ki te 111 nga tohu GPIo e toru me nga putanga pwm e toru, e tuku ana te DSP ki te waatea mo te whakahaere i te punaha me te taapiri ritenga.Ma tenei e whakarite te whakauru ngawari ki te whānuitanga o nga hoahoa taputapu whanui.
• He Whakahaa Ora iti
Ka whakahaerehia e ia he huringa matua o te 1.05 v, 1.2 v ranei me nga taumata o te 1.8 V ranei.

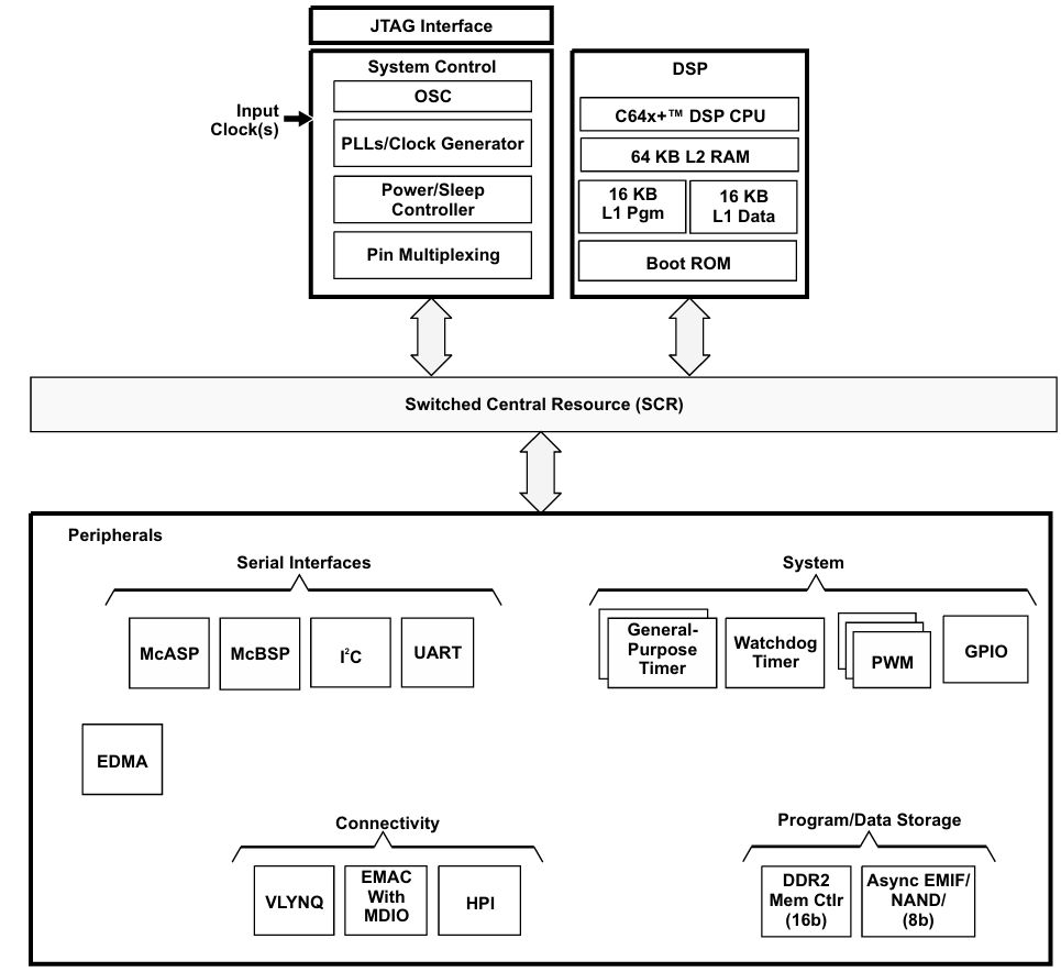
Ko te tuhinga TMS320C6421ZWT5 e whakaatu ana i te hoahoa a te kaiwhakawai me pehea e whakakotahi ai te kaiwhakahaere, mahara, me nga peripheral ki te mahi tahi.I te pokapū ko te C64X + DSP CPU me te L1 me te L2 me te L2 Me Boot Sog, e whakarite ana i te uru raraunga tere me te tiimata tere.Poraka Whakahaere Pūnaha pēnei i te Oscillator, Plls, me te Whakahaere Mana Whakahaerehia te whakatipuranga karaka, nga momo hiko-iti, me te huarahi tohu.
Ko nga waahanga katoa e hono ana ki te Rauemi Raupaparorohiko (SCR), e rite ana ki te pahi matua mo te rere raraunga.Kei roto i te kaitukapuka nga atanga rangatū penei i UART, I²C, MCBSP, me MCSP, i tautokohia e te kaiwhakahaere edma kaha mo nga whakawhiti raraunga-tere.Kei te whakaatu ano hoki i nga waa, nga mahi a nga kaitutei, PWM, me te GPIo mo te whakahaere i nga punaha whanui.
Mo te honohono, ko te taputapu e tuku ana i te Ethernet Mac me te MDIo, Vlynq, me te atanga tauranga manaaki, e waatea ana mo te hononga me te whakawhitiwhiti korero o waho.Kei te tautokohia te whakawhānui mahara ma te kaiwhakahaere mahara DDR2 me te Emif Asynchronous mo te NAnd, me te Flash ranei.A, ko enei poraka e whakaatu ana me pehea te hanga o te maramara ki te hapai i te tukatuka kaha me nga tohu honohono me te whanui.

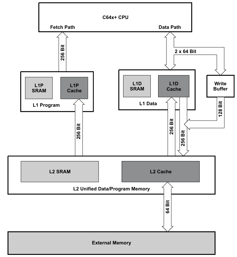
Ko te hoatutanga mahara c64x + cache i te TMS320C6421ZZT5 ka hangaia hei tuku i te uru tere o te CPU ki nga tohutohu me nga raraunga.Ka tiimata me te mahara L1, kua wehea kia rua nga waahanga: L1 Kaupapa (L1P) mo nga tohutohu me nga raraunga L1 (L1D) mo nga raraunga.Kei roto i te katoa o te SMAM me te keteroki, hono ki te Pae me te maha o nga huarahi 256-paku mo nga whakawhitinga tere-tere.
I muri o tenei, ka mahi te mahara L2 hei waahi nui ake, he waahi nui mo nga raraunga me nga kaupapa e rua.Kei a ia te SAMA me te keteroki, ka hono atu ki nga mahara o waho ma te pahi 64-bit.Ka awhina tetahi kaikorero i te tere o te rokiroki raraunga ma te tuhi i te papamuri.Ko tenei hoahoa kua oti te whakamahi i nga raraunga e tata ana ki te PTU i a koe e whakaae tonu ana ki te mahara nui o waho ina hiahiatia.

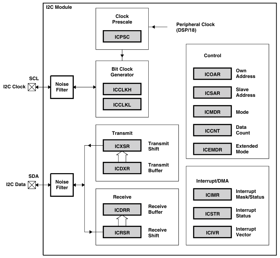
Ko te kōwae I²C i te TMS320C6421ZWT5 e whakahaere ana i nga raina I²C e rua, SCL mo te karaka me te SDA mo nga raraunga.Ko nga tohu e rua e haere ana i roto i nga whiriwhiringa haruru kia mau tonu ai te whakawhitinga.Ko te kaihaka karaka me te miihini karaka i hangaia te tere tika mo te whakawhitiwhiti korero.
Kua wehea e te kōwae te huarahi mo te tuku me te whiwhi raraunga.Ko te poraka whakawhiti e mau ana i nga raraunga i mua i te tuku atu, i te wa e whiwhi ana te poraka i nga raraunga hou i mua i te tuku ki te PSPU.Ko te waeine mana whakahaere e whakahaere ana i nga wahitau, nga tikanga, me nga raraunga ka taea te mahi hei rangatira, hei pononga ranei.
Kei roto hoki i te tautoko pokanoa me te DMMA, hei awhina i te whakahaere i nga whakawhitinga raraunga me te kore e hiahia ki te tirotiro i nga wa katoa.Ma tenei ka whai kiko te hononga I²C mo te hono atu i te DSP me nga taputapu o waho.
|
Tuhinga |
Parapara |
|
Kaimahitaonga |
Texas taputapu |
|
Rārangitanga |
TMS320C642x |
|
Whiu |
Heri |
|
Wahanga Mana |
Kakama |
|
Tuhinga |
Wāhi whakatika |
|
Āati |
HPI, I2C, MCSP, MCBSP, UART, 10/100 Ethernet Mac |
|
Reiti karaka |
500 mhz |
|
Maumahara kore-volatile |
Rom (64 KB) |
|
RAM RAM-maramara |
96 KB |
|
Ngaohiko - i / o |
1.8 v, 3.3 v |
|
Ngaohiko - matua |
1.05 v, 1.20 v |
|
Pāmahana whakahaere |
0 ° C ~ 90 ° C (TJ) |
|
Momo Momo |
Maunga Matapihi |
|
Paati / Take |
361-LFBGA |
|
Ko te kete taputapu taputapu |
361-NFBGA (16 × 16 × 16) |
|
Tau hua hua |
TMS320 |
1.. Telecom me nga punaha ahokore
Ko te TMS320C6421ZWT5 e whakamahia whānuitia ana i roto i nga taputapu miihini Telecom me nga taputapu ahokore na te kaha o tana mana tukatuka tere.Ka tiakina e ia nga mahi penei i te whakatikatika, te demodulation, me te taatai i te hongere, he pai ki nga teihana turanga, nga tatau, me nga taputapu whanui.Ma te tautoko i te Ethernet Mac me te Tautoko DDR2, e whakarato ana i te hononga honohono me te bandwidth maumahara mo te whakawhitiwhiti korero.
2.. Pūrongo me te tohu tohu
He pai te pai o tenei DSP mo nga punaha oro e hiahia ana ki te whakauru-a-mahi nui me te tukatuka iti.Ka taea e ia te whakahaere i nga tohu tohu reo maha, mahia te whakakore i te haruru, me te whakahaere i nga paanga oro i roto i te waa.Ko nga atanga penei i te MCBSP me te MCASP he ngawari ki te hono atu ki nga taputapu oro, me te whakarite i te pono me te mahi pai o te kounga.
3. Nga tono me nga tono ataata
Ka taea hoki te whakamahi i te C6421 ki nga mahi whakaata me nga mahi ataata e tono ana i te tukatuka raraunga tere.Ko tana matua a DSP ka taea e ia te tautoko i te whakahiato, te pirau, me nga mahi whakarei mo nga kamera, nga punaha tirotiro, me nga taputapu matakite.Ma te whakamahi i ona kaha whakatinanatanga, ka taea e te whakahaere i nga whakaahua me nga awa ataata.
4. Te whakahaere me te whakauru i te mana whakahaere
I roto i nga Ahumahi me nga tari, ka uara te taputapu mo tana whakakotahitanga o nga kai, GPIOS, PWM, me DMA, e whakarato ana i te mana whakahaere.Kei te whakamahia i roto i nga tono penei i nga kaiwhakaputa, ko nga kaikopere, nga kaiwhakahaere motuka, me nga waeine aunoa.Ko ona momo kaha kaha me te tukatuka tere ka awhina i te tuku tika i a raatau e pupuri ana i te kaha o te kaha.
|
Tautanga |
Tms320c6421ZZT5 |
TMS320C6421ZDU5 |
TMS320C6421ZDU4 |
TMS320C6421ZZTQ5 |
TMS320C6424 |
|
Hoahoanga matua |
C64x + velociti.2 vliw dsp |
C64x + velociti.2 vliw dsp |
C64x + velociti.2 vliw dsp |
C64x + velociti.2 vliw dsp |
C64x + velociti.2 vliw dsp |
|
Tere te karaka |
500 mhz |
500 mhz |
600 mhz |
500 mhz |
Tae atu ki te 720 mhz (teitei teitei) |
|
Te mahi (MIPS) |
~ 4,000 i te 500 mhz |
~ 4,000 i te 500 mhz |
~ 4,800 i te 600 mhz |
~ 4,000 i te 500 mhz |
Teitei ake, piki ake ki ~ 8,000 mIP |
|
Mahara i runga i-CHIP |
L1P 16 KB, L1D 48 KB, L2 64 KB |
L1P 16 KB, L1D 48 KB, L2 64 KB |
L1P 16 KB, L1D 48 KB, L2 64 KB |
L1P 16 KB, L1D 48 KB, L2 64 KB |
He nui ake nga whiringa L2 |
|
Rahi om |
64 kb boot rom |
64 kb boot rom |
64 kb boot rom |
64 kb boot rom |
64 kb boot rom |
|
Tautoko a-waho |
DDR2 (16-bit), Emifa (8-bit) |
DDR2 (16-bit), Emifa (8-bit) |
DDR2 (16-bit), Emifa (8-bit) |
DDR2 (16-bit), Emifa (8-bit) |
DDR2 (16-bit), Emifa (8-bit) |
|
Ethernet Mac |
10/100 MB / s me MDIO |
10/100 MB / s me MDIO |
10/100 MB / s me MDIO |
10/100 MB / s me MDIO |
10/100 MB / s me MDIO |
|
Pāmahana whakahaere |
0 ° C ki te 90 ° C (arumoni) |
0 ° C ki te 90 ° C (arumoni) |
0 ° C ki te 90 ° C (arumoni) |
-40 ° C ki te +125 ° C (ahumahi) |
0 ° C ki te 90 ° C (arumoni) |
|
Pūhera |
361-Pin NFBGA (16 × 16 mm) |
361-pine nfbga (diff. Tohu) |
361-pin nfbga |
361-pin nfbga |
361-pin nfbga |
|
Tono |
Telecom, oro, whakairihia |
Telecom, oro, whakairihia |
Te Telecom-a-Telecom |
Te ao ahumahi / taiao |
Te Telecom teitei-teitei & VoIP |
Ko te tikanga ka neke te tikanga ki te whakatu i te taiao ki te tuhi, te tuku i te waehere DSP kua tohua.
1. Tāuta taputapu whanaketanga
Ko te taahiraa tuatahi ko te whakarite i te Selloser Composer Composer (CCS), te taiao whakawhanaketanga whakawhanaketanga a Ti.Ma tenei raupaparorohiko, ko te whakahiato, ko te kaituku, ko te Kaihautū, me nga taputapu whakahaere kaupapa i hangaia mo te whanau C6000 DSP.Ki te kore tenei tatūnga, te whakamahere me te whakamatautau i te taputapu DSP kaore e taea.
2. Waihangahia he kaupapa hou
I CCS, tiimata ma te hanga i tetahi kaupapa hou i whirihora mo te taputapu TMS320C6421.Kei roto i tenei ko te whiriwhiri i nga whiringa compler tika, nga konae whakahauni, me nga tauira whakaoho.Ko te whakarite tika mo te kaupapa e whakarite ana ko te mahere mahara me nga rauemi pūnaha e hono ana ki te taputapu.
3. Tuhia te waehere tono
Ka taea te tuhi i nga tono ki te C mo te arorau whanui, i te huihuinga ranei mo nga mahinga-nui.He maha nga painga o te hoahoanga C64X + VliW, e taea ai e nga tohutohu maha ki te whakahaere i te rite.Ko te arotau i nga koropiko me te whakamahi i nga tohu-a DSP ka taea te pai ake te pai ake.
4. Whakanohia me te arotau
I muri i te tuhi, kua whakaemihia te hotaka, ka whakaemihia ki roto i nga tohutohu miihini.Kei roto i a Câliler nga waahanga arotautanga penei i te putorino putorino me te aukati i te whakauru ki te whakauru i te whakauru.I tenei waahanga, ka whakarite te kaiwhakataki i te mahi tere me te whakamahi i nga whakamahinga mahara.
5. hono me te uta
Ko nga konae ahanoa e hono ana kia rite ki te mahere mahara o te taputapu, te tuku tohu me nga raraunga i roto i nga waahanga mahara o roto me waho.Ka hono ana, ka utaina te Binary ki te DSP ma te JTAG Debugger.Ka whakarite tenei i te punaha mo te whakatutuki i te taputapu.
6.. Debug i runga i te taputapu
Ma te whakamahi i CCS, ka taea e koe te whakarite i nga waahanga, te aro turuki i nga rehita, me te mahi ma nga tohutohu i te wa e rere ana te DSP.Ko te whakawhiwhi i te taputapu taputapu e whakaatu ana i te whanonga, penei i te whakamahinga keteroki, ka haukotia, me nga whakawhiti raraunga.Ma tenei mahi e whakarite te mahi tono tika i raro i nga tikanga whakahaere.
7. Te tohatoha me te aroturuki
Ina oti ana te whakamatautau, ka tukuna te hotaka mo te whakatinanatanga o te punaha whaainga.Ka taea tonu e koe te whakamahi i nga CCS ki te aroturuki i te mahi, te tohatoha mahara-pai, te whakaiti ranei i te kohi mana.Ko tenei mahi whakamutunga e kii ana i te whakahaere tika a te DSP me te rite mo nga tono whaitake.
• Ko te mahinga o te mahinga-nui o te waa me te vliw ellelism
• Te hangai waehere ki runga me nga taputapu C6000 pakeke
• Ko nga huinga taonga o te peripherals whakakotahi ka whakaiti i nga waahanga o-waho
• Te whanaketanga ngaiotanga me te taputapu CCS me nga taputapu arotau
• Te keteroki ngawari me te hoahoanga maharatanga mo te whakahaere raraunga tere
• Kaore he ngaohiko hihiri, he panui ranei mo te penapena kaha mo te penapena mana
• Te kaha o te kaha o te kaha ki te DSPS iti
• Nga waahanga haumaru kua hangaia-i roto i nga waahanga haumaru ranei te tiaki
• He iti ake te pai mo nga tono kawe, i te punaha ranei
• Te kōtaha o te mahinga mahi me te iti o te hono mo te whakamahi pūkoro

|
Tuhinga |
Parapara |
|
Momo Pakihi |
Nfbga (361-pōro, zwt) |
|
Tuhinga o mua |
16 × 16 |
|
Takenga PIN |
361 |
|
Te roa (L) |
17.5 mm |
|
Whanui whanui (W) |
15.45 mm |
|
Rahi Rahi Te Rahi |
15.90 mm - 16.10 mm |
|
Poikita Pouaka |
0.80 mm |
|
Diameter pōro |
0.45 mm - 0.55 mm |
|
Te teitei o te kete (H) |
1.19 mm - 1.40 mm |
|
Te teitei o te pōro (tuunga) |
0.35 mm - 0.45 mm |
|
Noho ana te waka rererangi |
± 0.12 mm |
|
Tohu Tohutoro (A1) |
Ko te kokonga tohutoro tohu |
Ko te TMS320C6421ZZT5 ka hangaia e Texas Tohutoro (Ti), Ko te kamupene semicondctor semiconductor rongonui a Amerika i Dallas, Texas.Kei te mohiotia te ao mo ana mahi hou i roto i nga hangarau hangarua me te whakauru i nga waahanga katoa o te ahumahi tae atu ki te whakawhiti i te katoa o te taipitopito me te miihini.Me nga tau tekau ma rua o te whakawhanake i nga mahi tohu tohu mamati-nui, ko te TI te whanau TMS320 hei tohu mo nga tono tukatuka tohu.Ka tautokohia hoki e te kamupene me nga taputapu hoahoa whanui whanui, taiao rorohiko, me nga tuhinga, me te whakauru tika o ana hua DSP hei punaha whakauru.
Ko te TMS320C6421ZWT5 e tu ana mo tana mahi pumau, me te honohono mahara ngawari, me te honohono honohono e pai ana ki te tono tono ki nga whakawhitiwhiti korero, oro, ataata, ataata.Ko tana hoahoa e whai hua ana i roto i te studio waehere waehere, me nga taputapu mo te arotautanga me te whakaheke i te taputapu.He pai te tuku i te kaitukatuka, te whakauru kaha, me te tautoko whanui, ahakoa kei te tauhokohoko i etahi waahanga penapena me te haumaru.Te nuinga, ka tukuna e ia te toenga o te mahinga, te maumahara me nga atanga, e tautokohia ana e te papaa a Tisyystem me nga papaa C6000 e tohu ana i nga kaupapa whakauru whakamua.
Tena koa tukuna mai he uiui, ka whakautu wawe taatau.
Ae.Kei te mau tonu te hototahi waehere ki runga ake me nga taputapu C6000 C6000, hei awhina i nga kaupapa o te waa me nga huringa whanaketanga poto.
Ahakoa e pau ana te kaha atu i te DSPS-iti-mana, ka nui ake te tukatuka tukatuka tere, me nga hononga mahara tere, kia pai ake ai te mahi mo nga hoahoa mahi-kaha.
Ae.Ki te whakakotahi 10/100 Ethernet Mac me te atanga Vlynq, e tautoko ana te kaiwhakaari ki te honohono whatunga, kia pai ai te mahi i roto i te whakawhitiwhiti korero me nga taiao-tohatoha raraunga.
Ae.Ko te TMS320C6421ZWT5 kei roto i te ahuru SDR2 SDR2 SDRA2 me te atanga EMIF, ka taea te hono atu ki te kopapa ranei mo nga whakaritenga rokiroki nui ake.
Ko tana kaupapa a Vliw e waru ki te waru o nga tohutohu mo ia huringa, i tautokohia e Edma mo nga whakawhitinga raraunga tere, kia pai ai te whakahaere i nga mahi maha.
i te 2025/08/28
i te 2025/08/26
i te 8000/04/18 147778
i te 2000/04/18 112029
i te 1600/04/18 111351
i te 0400/04/18 83784
i te 1970/01/1 79579
i te 1970/01/1 66972
i te 1970/01/1 63107
i te 1970/01/1 63041
i te 1970/01/1 54097
i te 1970/01/1 52193