
Te JS28F320C3TD70 He 32-Megabit (2m x 16) Arā ki te Arā + Boot Aukati taputapu Whakamaumahara.Ka tukuna e ia nga mahi panui tere-tere me te waa nui o te 70 nanoseconds.Kua whakaritea te mahara ki roto i nga poraka 4-kwort taapiri 4-Kword e toru tekau ma rua 32-Kword matua poraka, te whakarato waehere ngawari me nga whiringa rokiroki raraunga.Ka tautokohia nga mahi panui i te 1.8V, 3V ranei, me te whakakore me te mahi a te hōtaka i te 3V, 12V ranei, e tuku ana mo nga Whirihoranga Uruwhenua.Kei roto i te taputapu he rehita parenga 128 mo te haumaru raraunga whakarei me te whakauru i te aukati-kore-a-raro mo te aukati i nga poraka mahara ki te tiaki i te waehere punaha me te raraunga.Ka tutuki te kai-iti i roto i nga penapena hiko (APS), te aratau tuuturu, me te aratau mana-raro.Kei te waatea te JS28F320C30T30 i roto i te kete haora 48-arahi.
Ka whakaekea e matou he utu whakataetae mo nga ota nui o te JS28F320C30C3TD70.Tena koa whakapiri mai ki a maatau mo etahi atu korero, ki te tono tono ranei

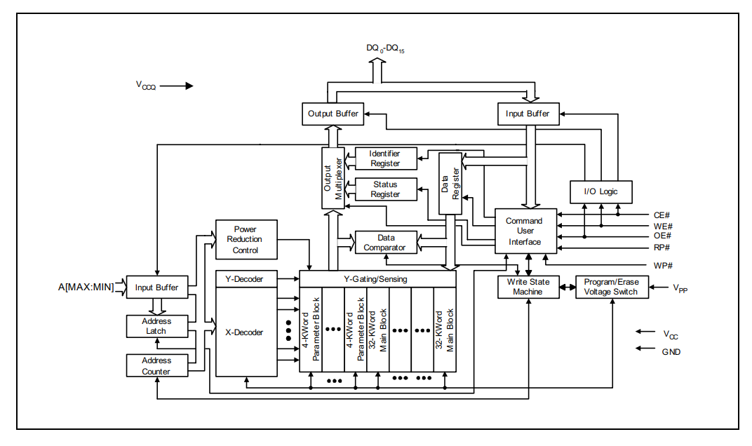
Ko te js28F320C30C30 he papaa 48-pine, me nga pou noho (A0-a21) i nga taha e rua, i whakamahia hei whakauru i nga waahi mahara.Kei roto i nga titi raraunga (DQ0-DQ15) mo te panui me te tuhi tuhi, me nga titi whakahaere penei i te # (Tuhia te Whakahohe), me te CE # (CHIPE) hei whakahaere i nga mahi.Ko nga titi toha mana (vcc me te gnd) te whakarato i te ngaohiko e tika ana.Tae atu Piki penei i te RP # (Tautuhi / Power-Down) me te WP # (Tuhia te Tiaki) Awhina Mana Whakamaumahara me te tautuhi i nga mahi.Ma tenei tahora e whakarite i te whakawhitiwhiti korero maeneene i waenga i te maramara me etahi atu waahanga i roto i te waahi.
Ko tenei waahanga e mau ana i o raraunga tae noa ki te whakaweto atu i te mana, he pai te whiriwhiri mo te penapena i nga kaupapa me nga waehere punaha.Kaore koe e manukanuka ki te ngaro o nga korero i te wa e kati ana, e whakaara ana ranei.
Me 32 megabits maumahara, ka nui te waahi ki te whakahaere i te waehere e rua me te rokiroki raraunga.Kua whakaritea mo te whaihua, ka hoatu e koe te waatea ki te hoahoa i nga punaha kaore i te rere i waho o te ruma.
Ko te JS28F320C3T3T30 te whakamahi i te 2 megaword e te 16-bit setup.Koinei te tikanga ka nekehia e ia nga raraunga i roto i nga tiihi whanui, ka awhina i te tere me te pai ki te tono kia pai te uru atu.
Ka whakamahi i te atanga whakaraerae, ka taea e ia te whakawhiti raraunga tere i waenga i te mahara me to punaha.Ko tenei huinga ka mau tonu nga mea e rere pai ana, ina koa ka tere te kaha o te waa.
Ka whiwhi koe i te ranunga iti me te rahi, me nga poraka boot i whakanohohia ki runga, ki raro ranei o te mahere mahara.Ka awhina tenei hoahoa ki te wehe i te waehere whakaoho i etahi atu raraunga, te whakaiti i nga hapa me te whakapai ake i te pono.
He wa tuhi mo te 70 nanosconds te tikanga ka taea e koe te whakahou i te mahara.Ka awhina tenei tere i te waa poto ki te heke o te punaha me te whakatairanga i nga mahi katoa.
Ma te wa tere tere o te 70 nanosconds, ka taea e to punaha te panui i nga raraunga penapena tata tonu.E hanga ana i te JS28F320C3T3T30 mo nga mahi whai kiko.
Nga Whakaritenga Hangarau o te Hangarau Hangarau, JS28F320C3TD70.
| Hua Tohu | Uara huanga |
| Kaimahitaonga | Te Hangarau Micron |
| Tuhi Te wa huringa - kupu, wharangi | 70NS |
| Ngaohiko - toha | 2.7V ~ 3.6V |
| Hangarau | Flash - poraka boot |
| Kaiwhakarato Paetete taputapu | 48-TSOP I |
| Rārangitanga | - |
| Pūhera / Take | 48-TFSOP (0.724 ", 18.40mm Whānui) |
| Pūhera | Heri |
| Mahi Pāmahana | -40 ° C ~ 85 ° C (ta) |
| Hapa Tuhinga | Maunga Matapihi |
| Pūmahara Tuhinga | Kore-kore |
| Pūmahara Rahi | 32MBIT |
| Pūmahara Rōpū whakahaere | 2m x 16 |
| Pūmahara Āati | Whakarara |
| Pūmahara Whakatakotoranga | Uira |
| Tūranga Tau Hua | JS28F320C3 |
| Putanga Wā | 70NS |

Ko te raarangi poraka o te JS28F320C3T3T30 e whakaatu ana he pehea nga waahanga rereke o te mahi maramara.Ko te whakauru whakauru ka haere i roto i te taatai me te kaikohi kia kitea te waahi mahara tika.Ka neke nga raraunga ki roto, ka puta i roto i nga pepeke me nga rehita, kia pai ai te tuhi me te tuhi.Nga tohu mana penei i te CE #, ko matou #, me te OE # awhina i te whakahaere i nga mahi, i te wa e tuhi ana te miihini whenua me te whakakore i te whakamaoratanga me te whakakore i te whakamaoratanga me te whakakore i te whakamaoratanga me te whakakore i te whakamaoratanga me te whakakore i te whakamaoratanga me te whakakore i te whakamaoratanga me te whakakore i te whakamaoratanga me te whakakore i te whakamaoratanga me te whakakore i te whakamaoratanga me te whakakore i te whakamaoratanga me te whakakore i te whakamaoratanga me te whakakore i te whakamaoratanga me te whakakore i te whakamaoratanga me te whakakore i te whakamaoratanga me te whakakore i te whakamaoratanga me te whakakore i te whakamaoratanga me te whakakore i te whakamaoratanga me te whakakore i te whakamaoratanga me te whakakore i te whakamaoratanga me te whakakore i te whakamaoratanga me te whakakore i te whakamaoratanga me te whakakore i te whakamaoratanga me te whakakore.He huringa ngaohiko te whakatika i nga taumata mana ina hiahiatia.Ko nga raraunga a te kaipupuri rongoa a te hunga, me etahi waahanga i hangaia mo nga mahi motuhake.Ma tenei tatū ka taea te uru tere me te pono ki nga korero penapena.
He pai te mahi a te JS28F320C3T3T3T30 i roto i nga punaha whakauru i te waahi rokiroki waehere me te whakauru tika.Ko tana hanganga whakamaharatanga e ngawari ana ki te penapena i te firmware me te whakahaere i te raupaparorohiko kaore he roa.Ka taea e koe te whakawhirinaki mo te pupuri moni mo te wa roa me te whakautu tere.
I nga taputapu Telecom, ko te waa me te mahi ko nga mea katoa.E tautoko ana tenei whakamaharatanga Flash i nga raraunga maeneene, tere tere te panui, me te whakamahi kaha iti, hei awhina i te rere haere tonu.He tika ki roto i nga pouara, ka huri, me etahi atu punaha whatunga.
Ko nga waka hou e whakamahi ana i nga mana mamati nui atu i te waa ake.Ma tenei waahanga ka awhina i nga punaha kaha penei i te Infomainment, waeine whakahaere miihini, me nga whakaaturanga papatohu.Kei te mau tonu te maatauranga me te whakahaere i nga panui tere ki te tono i nga taiao automotive.
I roto i nga wheketere me nga tatū aunoa, te pumau me te whakauru raraunga tere te mea nui.Ko tenei maramara maumahara e tautoko ana i nga punaha hei tirotiro me te whakahaere i nga miihini whakahaere, te pupuri i nga mahi maeneene me te aro ki nga tikanga nui.

|
|
Mirora | Inike | ||||||
| Parapara | Tohu | Meneti | Kā | Ātawhi | Pukapuka | Min (inihi) | Nom (inihi) | Max (inihi) |
| Te teitei o te kete | He | - | - | 1.2 | - | - | - | 0.0472 |
| Te teitei o te pōro | A1 | 0.25 | - | - | - | 0.0098 | - | - |
| Pahi i te matotoru tinana | Arahi | - | 0.78 | - | - | - | 0.0307 | - |
| Pōro (ārahi) whanui | pē | 0.33 | 0.43 | 0.53 | - | 0.013 | 0.0169 | 0.0209 |
| Whainga te whanui tinana | Pāt | 9.9 | 10 | 10.1 | 1 | 0.3898 | 0.3937 | 0.3976 |
| Te roa o te tinana | E | 12.9 | 13 | 13.1 | 1 | 0.5079 | 0.5118 | 0.5157 |
| Whakanekerite | e | - | 1 | - | - | - | 0.0394 | - |
| Poro (Tautoko) tatau | N | - | 64 | - | - | - | 64 | - |
| Noho pereti pereti | Kupu ranga | - | - | 0.1 | - | - | - | 0.0039 |
| Kokonga ki te pōro A1 tawhiti Haere ki te d | S1 | 1.4 | 1.5 | 1.6 | 1 | 0.0551 | 0.0591 | 0.063 |
| Kokonga ki te pōro A1 tawhiti Haere ma | S2 | 2.9 | 3 | 3.1 | 1 | 0.1142 | 0.1181 | 0.122 |
• Te whakatakotoranga mahara kaha ki te hoahoa poraka mo te tiakitanga pai ake
• Te mahi tere mo nga mahi e hiahia ana koe ki te whakautu tere
• Ka mahi pono i roto i nga taiao wera, makariri ranei
• Ka tautokohia e nga mahi 1.8V me te 3V nga mahi 3V mo te ngawari ake
• Ko nga tikanga o te mana iti ka awhina i te penapena kaha
• Ko te Atanga Parallell kaore pea i te pai ki nga punaha rangatū hou
• Me tupato te whakahaere i nga mahi mo te whakakore me te whakahaere i nga kaupapa
• He iti ake te kete nui ka whakaritea ki nga whiringa taapiri hou
| Wāhi Nama | Kaimahitaonga | Nga waahanga matua | Whakamahia te keehi / tuhipoka |
| JS28F320J3D75A | Micron Hangarau Inc. | 32Mbit Ahuru Flash me 75NS Te Wāhi Uru, Strataflash ™ 3.6V, Atanga Parallell. | He pai mo te penapena waehere ki roto Nga tono ahumahi me nga motuka aunoa e whakamahi ana i te hangarau hangarau. |
| Js28f256p33Te | Te Hangarau Micron | 256MB ROXCLLS ™ noa te mahara ki te 105NS UNCECE TE WAI, ka whakahaerehia i te 2.3V - 3.6V, 56-TSOP kete, riterite Atanga. | He pai mo nga hiahia rokiroki nui ake I te telecom, whatunga, he tono whakauru ranei-nui. |
| JS28F320J3D75E | Micron Hangarau Inc. | 32mbit strataflash ™ kore mahara, 75NT TE WANANGA KI TE MAHI, 56-TSOP mōkihi, 2.7V - 3.6V Supply, Atanga Parallert, -40 ° C ki te 85 ° C te awhe pāmahana. | I hangaia hei whakamahi i te pakari Ko nga punaha penei i nga punaha aunoa me nga umanga ahumahi e hiahia ana ki te pango pono. |
Ko te hangarau Micron te ingoa rongonui i roto i te mahara me te waahi rokiroki.Ka tohua e koe he hua micron penei i te JS28F320C30, kei te hangai koe i tetahi mea me te wheako me te aro ki nga korero taipitopito.E arotahi ana te kamupene ki te whakarite i te mahi me te mahi pai, ka roa te mahi, ka pai te whakamahi i o punaha.Ahakoa kei te mahi koe i nga hikohiko o ia ra, i nga huinga taapiri ranei, ka hoatu e te micron ki a koe nga whiringa pono e tika ana mo o hiahia.
Ko te CHIPEM maumahara Des28F320C3T30 e whakarato ana i te maramara mahara tere tere, he whiringa rokiroki maamaa, me te tiaki raraunga pono.Ko tana whakahaere hanganga e whakarite ana i te mahi maeneene, i te wa e awhina ana i te kaha o te kaha ki te awhina i te kaha.Ma te tautoko mo nga reanga rereke rereke, ka uru pai ki nga tono penei i nga punaha whakauru, te telecom, me te hiko-automoko.Ko nga waahanga haumaru a te maramara Tāpirihia he paparanga mo te tiakitanga nui.Ahakoa kei te rapu koe i te tere, te pono, te kaha o te hiko, tenei maramara maumahara e tuku ana i nga mahi tika mo te whakamahinga whanui.
Tena koa tukuna mai he uiui, ka whakautu wawe taatau.
Ko te JS28F320C30C3TD70 e whakamahia ana i roto i nga punaha whakauru, hiko-automotics, me te whakawhiti korero mo nga rokiroki raraunga pono me nga tere tere tere.
Ka tautokohia te 1.8v, 3V ranei mo nga mahi panui me te 3V, te 12v VPP mo te whakamahere me te whakakore.
Kua wehea te mahara ki roto i nga poraka 4-kwort taapiri 4-Kword e toru tekau ma rua 32-kwn matua poraka, tuku raraunga ngawari me te penapena waehere.
Ka tae mai ki roto i tetahi kete TSop 48-arahi, he riterite, e tika ana hoki mo nga momo tono.
Ae, kei roto i te rehita tiaki 128-bit me nga waahanga raka aukati hei tiaki i nga raraunga whakahirahira.
i te 2025/03/21
i te 2025/03/21
i te 8000/04/18 147758
i te 2000/04/18 111958
i te 1600/04/18 111349
i te 0400/04/18 83726
i te 1970/01/1 79510
i te 1970/01/1 66928
i te 1970/01/1 63078
i te 1970/01/1 63017
i te 1970/01/1 54086
i te 1970/01/1 52153