
Te LM7809 Ko te kaiwhakahaere o te raupaparorohiko tino pono ic, he rongonui mo te whakarato i te putanga 9V e mau ana i nga tono.Me tona kaha ki te hapai i nga waa i waenga i te 1A me te 1.5A, ka kitea te whakamahi i nga mara penei i nga robotics me nga punaha whakauru, kei te kaha te tuku i nga momo ngaohiko.Hei whakatutuki i te mahinga tino pai, me kii te LM7809 he huringa whakauru kia iti rawa 11V, kia mau ki te whare rangatira iti rawa ki te kawe i tana putanga kua whakaritea.Ko te hoahoa i te tuku hiko tika me te rahui whakauru tika hei whakarite kia pai ake te aukati i te aukati i te rere hiko.
Ma te tautoko mo nga puia whakauru kia teitei te 35V, ko te LM7809 e whakaatu ana i nga taiao e kitea ana he rereketanga o te anga anga, penei i nga miihini miihini me nga taonga miihini.Ko tona kaha ki te hapai i nga mahi ngaru whakarei e whakarei ake ana i te pono, te whakarite i te kowhiringa mo te whakahaere i nga punaha me nga tikanga whakauru rereke.Heoi, ko te whakahaere i te wehenga wera ka whakamahia, i te mea ko te rereketanga o te huringa i waenga i te whakauru me te putanga ka whakaputa i te wera.Hoahoa Thermal tika, tae atu ki te whakamahinga o nga makawe, me whakarite kia pai te whakahaere me te tuku i te koiora o te taputapu.
Ko nga waahanga kua hangaia he rite ki te aukati wera me te whakamarumaru poto-porowhita ka kaha ake te tiimata o te LM7809, te tiaki i te ahua kino.Ko enei whakamarumaru e pai ai te whakahaere i roto i nga horopaki arumoana me te maatauranga, kaore i te pono anake te mahi, engari mo te ako i nga mahi a te ringa.Ko enei aukati kua whakamanahia e whai kiko ana ki tana whai hua ki nga tono e kii ana i te tuuturu me te iti o te tiaki, te whakakaha i tana mahi hei kaupapa arotahi ic.

|
Pin No. |
Ingoa pin |
Whakaaturanga |
|
1 |
Whakauru (v +) |
Ngaohiko whakauru kore |
|
2 |
Whenua |
Hono ki te whenua |
|
3 |
Putanga (VO) |
Putanga Regulated + 9V |
|
Āhuatanga |
Taipitopito |
|
Te whānuitanga o nāianei |
1A ki te 1.5A |
|
Utu-whai hua |
Āe |
|
Tono Tono |
Nga tono arumoni |
|
Taha Huinga |
Te kaha me te whakaputa i nga putanga 9V |
|
Ngaohiko whakauru nui |
35v dc |
|
Te whakamahi i te waa o te waa |
Iti rawa, 8 noa |
|
Iti rawa te huringa whakauru |
11v |
|
Te Utu Whakauru Utu Nui |
35v |
|
Ko te Whakataunga Whakatuturutanga Taonga Mana (PSRR) |
55 db |
|
Whakaputa te tahua |
9V ± 4% |
|
Whakawhiwhia-Whakaheke (VI - VO) |
2.0v |
|
Momo Putanga |
Tutuki |
|
Te paruru me te tiakitanga o naianei |
Ko te taumahatanga waiariki o roto me te huringa poto o te waa
Whakawhāiti |
|
Te pāmahana nui o te pāmahana |
125 ° C |
|
Nga momo paatete |
Ki te 220, ki te-3, kte |
|
Tuhinga |
Parapara |
|
Ko te tuku tohu |
5 Ma |
|
Ko te waa o naianei |
8 Ma |
|
Whirihoranga Putanga |
Hua |
|
Mate Kore (Max) |
2v @ 1a Typ |
|
Tūnga kāpene |
Kotahi |
|
Nga waahanga tiaki |
Neke atu i te pāmahana, te ara poto |
|
Whakakorenga Whakahekeheke |
2v |
|
Whakahekehia te ngao1-nom |
2v |
|
Te whakaputa tika |
4% |

Te rongonui 7809 E rongonui ana te Reoloculator mo tona tika i roto i te putanga engari mo tona kaha motuhake ki te tuku i te tini o nga kohinga miihini maeneene, he maha nga kaitahuri DC-DC i roto i tenei ahuatanga.Heoi, ko te whakaputa i te wera ake ko te tino pai o tenei ahuatanga.Ko tenei maeneene pai rawa atu na te aroaro o te kaiwhakarato raupaparatanga raupapa i te putanga, e whai waahi nui ana ki te aukati i te nui o te ngaohiko.
Ki te mohio ki te nui o te mana ka taea te wehe, ka taea e tetahi te tono i te tātai:Ki te whai i te ngaohiko whakauru he 12V me te whakaputa i te waa o te 1A.I roto i tenei ahuatanga, ka tohua te wehenga mana kia 3 Watts, e kii ana ko nga rautaki whakahaere whai hua, he pai te whakaaro.
Ko te mea e tika ana mo te whakahaere wera ka kitea ko te huringa wehe a te Regalulator 1.25 Watts - te paepae i tua atu o te whakamahana.I roto i te hoahoa tuuturu, ko te whakarite i te pai o te wehenga wera he mahi mutunga hei tautoko mo te whakatutukitanga me te kore e tiimata te mahi.
Ko te kaiwhakahaere o te 7809-ngaohiko te mahi nui ki te whakarato i te whakaputa mana 9V pono i roto i nga ahuatanga e rereke ana te taiao whakauru.He tika te whakahaere i nga puia whakauru i waenga i te 11V me te 35V, me whakarite he whakaputa whakaputa pumau i te nuinga o te waa, me nga kaha pikinga tae atu ki te 2.2A.He pai tenei ki te whiriwhiri i te kowhiringa mo koe e whai mana ana i te ti'aturi.
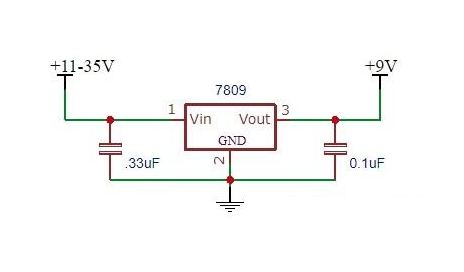
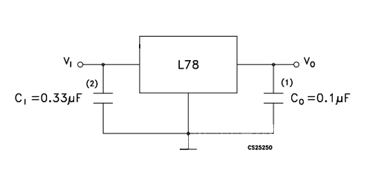
I te wa e tu ana te puna mana neke atu i te 10 inihi te tawhiti atu i te papa whakauru, ka whakauru i tetahi kaiwhakamahara whakauru o te 0.33uf, he nui ake ranei.Ko te kowhiringa i nga Kaitautoko me nga raupapa o te raupaparorohiko iti (ESR) ka taea te awhina ki te whakaiti i te ngaro o te kaha.Ko enei whirihoranga he mahi rongonui ki te whakanui i te whakatutukitanga o te Regil Regilator, ko te nuinga kei te pupuri tonu i nga tikanga rereke.
7809 9V Regulator me nga potae kati

Ko te taapiri i tetahi Kaihaututu Putanga 0.1Uf ka taea te whakarei ake i te urupare a te 7809 tino nui.Ka arahi tenei ki nga whakapainga ake i te wa e pa ana ki te whakaweto i te utaina, te huringa whakauru ranei, na reira ka piki ake te kaha o te punaha.Ahakoa ko te nuinga e whakamahia ana, he maarama ki te torotoro i nga whirihoranga ritenga i hangaia ki nga whakaritenga taiao motuhake.

• Lm7806
• Lm7824
• Lm7815
• Lm7812
• Lm317
• Lm7905
• Lm7912
Ko te LM7809 te mahi nui ki te tuku i tetahi putanga 9V e rite ana, ko te nuinga e tika ana mo nga microcontroller me nga tohu.Ko te kaha o tenei taputapu kia mau tonu te mahi ahakoa te kaha o te whakaurunga o nga raraunga sensor tairongo me nga mahi microcontroller, i te mutunga o te punaha hiko.Ko te whakarite kia pai te whakahaere i nga ture whaihua ki nga tono whaihua hei karo i nga take penei i te pirau raraunga, te ngaro ranei o nga miihini.
I te wa e tino hiahiatia ana mai i nga puia teitei ki te 9V e hiahiatia ana, e kaha ana te LM7809 e tika ana mo te whakaiti i nga koretake o te ngao.He mea tino nui tenei waahanga ki nga ahuatanga kei hea nga taputapu, penei i nga punaha miihini kaainga, he hikohiko kawe ranei, he whakaraerae ki nga riri nui.Ko te whakauru i te LM7809 ka whakaiti i te tupono o te kino na te rereketanga o nga rereketanga o te ngaohiko.
I roto i nga punaha toha mana, e mohiotia ana te LM7809 mo te whakaputa i te putanga tonu, whai hua mo nga mahi auau.I roto i nga waahanga o te ahumahi me te hikohiko a nga kaihoko, ka aukati i te aukati kaha ka taea te hua o te waa, te whakamahi ranei i nga raraunga.Ko tana tiaki waiawai kua hangaia e taapiri ana i te apa o te manawanui, tuku i te LM7809 ki te whakahaere i nga tikanga whakamaarama e tino kitea ana i roto i nga taiao.
I te wa e whakamahia ana i roto i nga Whakatau taraiwa motuka, ka whakaratohia e te LM7809 te pumau mo nga motuka kia mahia i nga wa katoa.Ko tenei tohu he mea nui mo nga tono penei i nga karetao penei i te karetao, te hangarite ranei, me whakahaere nga motuka i nga tere kua tohua, i nga tohu ranei.Ko te kaha o te Regalulator ki te maeneene o te hau maeneene e mau tonu ana te mahi whakahaere.
I roto i te whakamahi i nga punaha hiko me nga punaha hiko, ka whai waahi nui te LM7809 ki te whakarato i te huringa tohatoha tonu, na reira ka roa te ora o te ora me te kaha.Ko te nuinga te painga ki nga punaha solar me nga puia whakauru rereke puta noa i te ra.Ko te whakauru i te LM7809 e tautoko ana i te huringa capcle e whakamahia ana i raro i nga tikanga whakauru rereke.
Ko te mahi hei punaha mana tuatahi mo nga microcontrort, ka whakamanahia e te LM7809 nga wero e pa ana ki te whai kiko me te riterite.Ko te whakarato i te kohinga mana pumau e whakamahia ana i roto i nga huinga uaua ka taea e te pumau te kaha o te mahi a te microprocessor mahi.
He mea nui te LM7809 hei waahanga o nga punaha whakahaere whakatika, i te mea e hiahiatia ana nga taumata rereke mo nga waahanga motuhake.He awhina ano kei roto i nga ahuatanga e hiahiatia ana nga herenga o naianei, te tiaki i nga taputapu hono mai i nga taonga ohorere.Na roto i te whakauru i te LM7809, ka taea e koe te mau ki te waatea noa engari he pai te whakahaere o te waa, me whai whakaaro kia ngaro nga hoahoa o te punaha whanui.
I roto i nga punaha taapiri e hiahiatia ana e koe te aukati i te paruru, ka tiakina e te LM7809 te tiaki i nga hononga kino.Ko tenei ahuatanga e hiahiatia ana i roto i nga hoahoa hiko i te waahi ka taea e te Poto te arahi ki te kino o te waahanga.Ko te kaha o te LM7809 hei whakamana i nga tikanga kaore i te ngaro te mahi, he koha ki te mahi kaore i whakakorehia.




Ko te Reolu Colonel o LM7809 he otinga pono mo te pupuri i te putanga 9V e mau ana, e whakaatu ana i nga mahi whakamiharo i roto i nga tono hikohiko.Ko tana hoahoa tika, i honoa me nga waahanga pakari ano he waahi whakamarumaru me te haumaru-poto, kia whai mana ki nga punaha o te whakatairite me nga punaha oti.Na roto i te whakatikatika i nga wero penei i te hurihanga o te hau me te wera wera, te whakarei ake i te LM7809 te kaha o te taputapu me te roa.Hei mahinga hangarau, kei te haere tonu te LM7809 ki te tuku i te mana pumau, me te poipoi i te auaha, me te whakarite kia mau te ahua o nga hoahoa hiko mo koe.
Tena koa tukuna mai he uiui, ka whakautu wawe taatau.
Ko te LM7809 te mahi whakamiharo ma te whakaputa i te putanga pai 9V e whakawhirinaki ana, e whakatika ana i nga wero o nga ture ngaohiko kua tau ki te kaari hei whakamahi i nga uaua tohatoha.Ma tana tautoko pumau, ka whakarei ake i te pono o te tuku hiko me te whakaiti i nga raru o nga huringa hiko, te kawe i te haumarutanga ki nga kaiwhakauru.
Te whakarato i te whakaputanga o te 9V whaka aukatia, ka taea e te LM7809 te tuku ki te 1 o naianei me te whakatutuki i tetahi waahanga huringa whakauru mai i te 11 ki te 35 ki te 35V.Ka poipoihia tenei waatea i tona whai hua ki nga ahuatanga whakahaere mana ki te whakahaere i nga ahuatanga o te hunga e whai ana ki te whaiwhai i nga hiahia hiko rereke.
Ka rite ki te taputapu toru-mutunga, me kii te LM7809 he ngaohiko whakauru DC i waenga i te 12 ki te whakauru i tetahi kaitao whakauru, me te whakakii i te wera ki te whakakaha i nga wero whakaipoipo.Ko tenei huarahi whaitake te whai waahi ki te roa o te waa roa me te pai o te waa.
Ko te urunga o te DC me te pumau ki te Ope Taonga e hiahiatia ana mo te whakatutuki i te ture koretake me te mahi whakaputa tonu.Te whaiwhakaaro i te kounga o nga hononga me te waahi rautaki o nga waahanga ka taea te aukati i nga ngoikoretanga, na reira ko te whakapumautanga i te pono o te whirihoranga hiko.
Ko te hanga i tetahi hoahoa taketake e rite ana ki te whakarite i te roopu tohu tohu 7805 raina me nga kaihokohoko ki te mohio ki te tino aro o te ngaohiko.Ko enei huinga totika ka taea te tarai i nga kohatu hei whakawhanake ake i nga punaha whakatipu, ka whakaatu i nga tirohanga ki te whakahaere mana whai hua i roto i nga taputapu hiko.
i te 2024/11/28
i te 2024/11/28
i te 8000/04/18 147757
i te 2000/04/18 111931
i te 1600/04/18 111349
i te 0400/04/18 83719
i te 1970/01/1 79508
i te 1970/01/1 66886
i te 1970/01/1 63010
i te 1970/01/1 62984
i te 1970/01/1 54081
i te 1970/01/1 52108