
Te EPF8820ARC208-4 Ko te taputapu FPGA taonga tuku iho mai i te FLEX 8000 Ses i whakawhanakehia e ALtera, inaianei i raro i te kaupapa whakamaherehere a-kaupapa.Hangaia ma te whakamahi i te hoahoanga o te CMOS SMAM, na te whanau o nga whakaaro arorau e tohu ana i tetahi waahanga i roto i te whakawhanaketanga arorau.I mohiotia te raupapa 8000 8000 mo tona hanganga pūtau arorau me te hononga honohono, e tika ana mo te whakauru mamati whanui.Ko te EPF8820arc208-4 ka taka ki te whānuitanga o te reanga waenga waenga-tere i roto i tenei raupapa, me te whakahoahoa hononga.Ka tohatohahia e ia tana hoahoanga me etahi atu momo karaehe tere penei i te -2, -3, me te -5, he rereke te mahi i nga mahi a te waa.
Kei te titiro mo te EPF8820ARC208-4?Whakapā mai ki a maatau ki te tirotiro i nga taonga o naianei, te waa arataki, me te utu.
• FLEX 8000 hoahoanga
Ko te EPF8820arc208-4 ka hangaia i runga i te hoahoanga a Altera ALTera 8000 e whakamahi ana i te whirihoranga-a-papa mo te punaha-a-punaha.E whakarato ana i te otinga whai hua me te ngawari mo nga tono tairongo a-waenganui.
• Ma te arorau
Ka whakauru tenei taputapu ki nga waahanga arorau 672, te whakaputa i te 8,000 nga keti hiko.He pai te toenga i waenga i te uaua me te mahi mo te mana whakauru, te arorau whakapiri, me nga hoahoa miihini.
• 5v matua me te multrivolt ™ i / o te tautoko
Te whakahaere i runga i te tohatoha 5V, ka tautokohia hoki e te taputapu te 3.3V me te 5V i / o nga paerewa ma te whakamahi i te Multivolt ™ i / O Te Hangarau.Ma tenei ka taea e te reira mo nga punaha miihini whakaranu me te hono taonga tuku iho.
• In-hurihuri whirihoranga
Ko te EPF8820arc208-4 ko SAM-e tautoko ana i te whirihoranga-a-roto ma te whakamahi i nga kupu whakaari o waho ranei.Ka taea e ia te whakahou hoahoa tere me te whakahou i te kore e tango i te taputapu mai i te waahi.
• Te Whakawhitinga Whakawhiti Tere Tere
Ko tana hanganga whakaari tere tere e whakaatu ana i te papanga tere, tino tere.Kei te tautokohia e tenei hoahoanga te whai hua i te waahi arorau me te mana whakahaere, te whakahohe i nga mahi hoahoa.
• Kawe me nga mekameka cascade mo te arithmetic
Ko nga mekameka kawe me nga mekameka i whakatapua, whakarei ake i te whakatinanatanga o nga mahi arithmetic penei i nga taapiri me nga kaiuru.Ko enei waahanga te whakaiti i te whakaroa o te arorau me te ngawari ki te hanga i nga mahi matatini matatini.
• Te Whakapono PCI PCI (Rev 2.2)
Ka tutuki tenei taputapu ki te whakahou i te pahi pahi pahi o PCI 2.2, e tika ana kia whakamahia hei whakamahi i nga punaha PCI.Ka tautokohia e ia nga ahuatanga o te taiao PC 5v-manawanui.
• Ko te Tautoko Scan Scan JTAG
Ko te EPF8820arc208-4 kei roto i te iee-in ieee 1149.1 (jTAG) rohe-karapa.Ma tenei ka whakahihiko, ka whakamatautau i te poari, me te whakaotinga i roto i te punaha me te kore e hiahiatia ana te utu.
• Te mana whakahaere i te hōtaka
Ko ona taraiwa whakaputa e whakaatu ana i te mana whakahaere o te rahinga, hei awhina i te whakaiti i te haruru.He painga tenei ki nga hoahoa tere-tere mo te pono o te tohu.
• Aratau Tuuturu Poto
I hangaia mo te pai o te kaha, ka pau te taputapu i te 0.5ma i te aratau tuuturu.Ma tenei ka taea e nga punaha te tiaki i te mana i roto i nga waa ngoikore ranei.
• Pāmahana whakahaere: 0 ° C ki te 70 ° C
Ko te waahanga e whakahaere ana i te pono i roto i te momo pāmahana arumoni o te 0 ° C ki te 70 ° C.He mea pai mo te whakamahinga whanui i roto i nga taiao whakahaere.

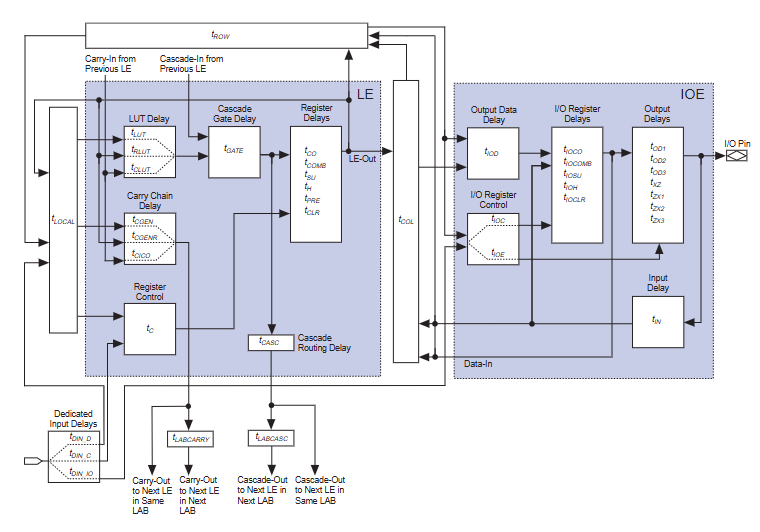
Ko te hoahoa e whakaatu ana i te hanganga o roto me pehea te tukatuka o nga tukanga FPGA me nga hononga.I te pokapū ko te Poraka Whakapaipai (Labs), kei roto i nga waahanga arorangi maha (les).Ko enei les te whakamahere me te whakariterite ki te mahi i te whānuitanga o nga mahi arorau, e tautoko ana i nga hoahoa honohono me nga waahanga.Ka taea e tenei waatea te whakatinana i te kaupapa mamati ritenga.
Huri noa i nga tapanga ko nga mea iti o te / O.Ka tautokohia e ratou te whakauru, te putanga, me nga tohu bidirectional i te wa e whakarite ana i nga taumata rereke.Ko te hono ki nga waahanga katoa ko te hononga FastRtrack, he punaha tere tere e hono ana i nga tapanga me nga mea pai.Ma tenei huinga e whakarite te whakawhiti raraunga tere, te tikanga tohu maeneene, me te mahi pono puta noa i nga tono i roto i te raupapa 8000 8000.

Ko te hoahoa e whakaatu ana me pehea te roa o te mate ki te tukatuka arorau me te tohu tohu i roto i te FPGA.I roto i ia waahanga arorau (le), ko nga mea e rite ana ki te Raarangi Tirohanga (LUT), me rehitatanga Chain Whakatakotoranga te whakautu tere ki nga mahi whakauru.He mea nui enei whakataunga a-roto mo te pupuri i te tika me te whakahaere tika, ina koa i roto i nga waahanga tere-tere.
Mo nga mahi / o te mahi, e whakaatu ana te aratau wa e whakaatu ana i nga tohu e uru ana ki te uru atu ki te FPGA.Ko nga tohu matua ko te aukati i te whakaroa, me nga waa whakauru me nga wa e tika ana kia pehea te roa o nga tohu o waho mo te hopu raraunga tika.E whakaatu ana te hoahoa i waenga i nga riihi hono, tae atu ki nga huarahi me nga huarahi cascade, e pa ana ki te rere o te whakaaro puta noa i te taputapu.Ko nga mea katoa, ko enei waahanga e whakarite ana kia whakamanahia, ka tiimata te mahi puta noa i te hoahoanga o te FLEX 8000.

Ko te mahi mekameka whakahaere i roto i te EPF8820RC208-4 kua hangaia te 8000 ki te mahi i nga tatauranga arthmetic tere ma te hono tahi i nga waahanga arorau maha (les).Kei ia lie te tepu titiro-ake (LUT), he ara-a-rohe, me tetahi rehita.Ka tiimata te mahi me te tohu-a-ringa e uru ana ki te tuatahi (Le1), ko te whakauru A1 me te B1, ka whakaputa i te putanga moni (S1) me te tohu kawe.
Ko tenei tohu kawe ka tukuna tika ki te mekameka e whai ake nei i te mekameka (Le2, le3, me era atu)Ko te whakamutunga kei roto i te raupapa e whakaputa ana i te tohu whakamutunga-a-whakamutunga, ko te whakaoti i te mahi.Ma tenei hanganga mekameka e taea ai te tere, te taapiri i te taapiri mo te hanga taapiri, me etahi atu arorau-a-iwi i roto i te hoahoanga 8000 8000.
|
Tuhinga |
Parapara |
|
Kaimahitaonga |
Altera / Intel |
|
Rārangitanga |
FLEX 8000 |
|
Whiu |
Heri |
|
Wahanga Mana |
Neha kē |
|
Te maha o nga tapanga / clbs |
84 |
|
Te maha o nga huanga / cauns |
672 |
|
Tuhinga o mua |
152 |
|
Tuhinga o mua |
8000 |
|
Ngaohiko - toha |
4.75v ~ 5.25v |
|
Momo Momo |
Maunga Matapihi |
|
Pāmahana whakahaere |
0 ° C ~ 70 ° C (ta) |
|
Paati / Take |
208-BFQFP kua kitea te papa |
|
Ko te kete taputapu taputapu |
208-RQFP (28x28) |
1. Te tukatuka tohu matihiko (DSP) me te whakahaere raraunga-ara
Ko te EPF8820arc208-4 kei te pai te whakatinana i nga mahi DSP mo te mahi ma te arorangi arorau me te pai o te hangaanga.Ka taea e ia te whakahaere i te mahi-a-raraunga mo nga mahi penei i te tātari, te whakarereke, me te whakarereke i nga tohu mamati teitei.
2. Atanga pahi ritenga me te kape i te kape
Ma te nui o te rahi o te I / o Pins me te Tautoko Multivolt ™, ka whakamahia te nuinga o te FPGA ki te hoahoa i nga hononga peripheral ritenga ritenga ranei.Ka mahi ano hoki hei kaiwhakaari i te mana whakahaere i te mana whakahaere, i nga mahi-a-raraunga ranei mai i te kaitukatuka matua.
3. Te raupapari reo irirangi me te tukatuka whakawhitiwhiti korero
Ko te ngawari o te taputapu me te kaha ki te whakahou i te mea pai ki nga tono penei i te reo irirangi kua tautuhia (SDR), ka rereke pea nga kaupapa whakarereke.Ka taea e ia te tarai i te whakauru, te whakamohiotanga, me te tohu tohu puta noa i nga paparanga korero.
4. Te Whakatutukitanga Aukati me te Whakaputanga Pūmārō
Ko te EPF8820arc208-4 e whakamahia ana i te waa o te whanaketanga o te whanaketanga Asic.Ko tana hoa mahi whakahou e tuku ana i te whakamana tere, te whakamatautau, me te whakarite i te wahanga o nga hoahoa mamati matatini i mua i te mahi ki a Silicon.
5. Te whakamana i te reo me nga miihini whakamunatanga
Ka taea e tenei FPGA te whakatinana i te arorau-matatini rite te ahua o te reo me nga tohu puoro me te algorithms kriptographic.Ko te noho o nga mekameka ka rēhitatia ahau / OS e whakarite ana i te kohinga tere me te tukatuka tika-a-tapawha e hiahiatia ana mo enei tono.
6. Mana whakahaere me nga punaha taonga
Ko te waa tino rongonui, ko nga mana whakahaere nui, me nga poraka arorau maamaa e whakarite ana i tenei FPGA e tika ana mo nga punaha Ahurangi Ahumahi.Kei te whakamahia i roto i te waa whai hua, te mana whakahaere-a-whenua, me te tohu i nga waahanga porohita.
7. Aerospace me nga punaha taapiri paruru
Ka whakamahia tenei taputapu i te aerospace me te arai paruru i te wa e tika ana te whirihoranga me te mahi pono i roto i nga taiao whakahaere e hiahiatia ana.Ka tautokohia e ia te kaha firmware haumaru me te tuku i te mana tuuturu iti, e whai hua ana ki nga tono a te misioni-misioni.
8. Nga Taputapu Hiko Automotic
I roto i nga hikohiko Automotic, ko te EPF8820RC208-4 ka kitea i roto i nga tikanga whakahaere whakahaere i te whakamaaramatanga arorau, te taatai, te whakahiato raraunga ranei i waenga i nga kaiwhaiwhai me te EPus Center.Ko te mea e houhia ai te whakahou i nga whakahoutanga me nga whakarei ake i muri i te tuku.
9. Te whakawhiti korero whakawhiti me te kawa
I roto i nga punaha Telecom, e tautoko ana tenei FPGA ki te whakawhiti i te arorau, te kawa whakahaere, me te whakahaere i te waa.Ka taea e ia te huri ki nga momo tohu tohu, whakarite i te whakakotahi me te whakahou i roto i nga whatunga whakawhitiwhiti korero hihiri.
Anei te tepu whakatairite o Epf8820arc208-4 me ana waahanga rite tonu mai i te whanau Flex8000:
|
Tau waahanga |
Tohu tere |
Momo Pakihi |
I / O Pins |
Huānga arorau |
Te tohu pāmahana |
|
EPF8820ARC208-4 |
-4 (papa) |
208-Pin QFP |
152 |
672 |
Tauhokohoko |
|
Epf8820arc208-2 |
-2 (puhoi) |
208-Pin QFP |
152 |
672 |
Tauhokohoko (0-70 ° C) |
|
EPF8820ARC208-3 |
-3 (te reo) |
208-Pin QFP |
152 |
672 |
Tauhokohoko |
|
EPF8820ARC208-5 |
-5 (tere) |
208-Pin QFP |
152 |
672 |
Tauhokohoko |
|
EPF8820AQC208-4 |
-4 |
208-Pin QFP (AQC) |
152 |
672 |
Tauhokohoko |
|
Epf8820ri208-4 |
-4 |
208-Pin QFP |
152 |
672 |
Ahumahi (-40-85 ° C) |
1. Hangaia te konae whirihoranga
Tīmata mā te waihanga i te kōnae whirihoranga ma te whakamahi i nga punaha whanaketanga Altera a Alterat penei i a Max + Plus II or Quartus.Ko tenei konae, i te nuinga o te 16kb te rahi, kei roto i te bitstream oti e hiahiatia ana hei tautuhi i te arorau me te whakahaere i te EPF8820ARC208-4.
2. Tīpakohia te kaupapa whirihoranga
Kōwhiria he tikanga whirihoranga tika i runga i nga whakaritenga o te punaha: ma te kaha ranei o te rangatū (te waahi e whakahaere ana i te FPGA) he rangatū / whakarara (kei hea te whirihoranga kaiwhakahaere o waho).He pai nga tikanga paanui mo nga punaha e hiahia ana ki te whakahou i nga mara, i nga whakahou hihiri ranei.
3. Whakatu i nga Hononga Pakeke
Tūhono nga raina whirihoranga e tika ana penei i te NConfig, Conf_Done, DCLK, DCCK, DCCK, DCCK, DMC1 Tource Pūrere Whiriwhiringa (E.G1133).Me whakarite kia tika te whirihora o te aukati me nga puna karaka ki te tauwehenga whirihoranga kua tohua.
4. Te timatanga-i te timatanga
I te wa e whakaatuhia ana te punaha, te NConfig ranei, ka uru te FPGA ki te aratau whirihoranga me nga waahi katoa i / OS i roto i te ahuatanga Tri-State.Kua rite te taputapu ki te whakaae i nga raraunga whirihoranga i runga i te kaupapa waea kua whakatinanahia e koe.
5. Nga Raraunga Whirihoranga Waitohu
I roto i te aratau kaha, ka uru tika te FPGA i nga raraunga mai i te eprom ma te whakamahi i tana oscillator o roto.I roto i te aratau paanui, he kaiwhakawai whakahaere, he kaiwhakahaere whirihoranga ranei e whakarato ana i nga raraunga, ka tutuki te mahi ka piki te tohu a Conf_Done.
6. Te timatanga o te timatanga me te whakawhiti ki te aratau kaiwhakamahi
Ina utaina te bitstream me te Confor_Done, ka mahi i te FPGA i te tuatahi, ka whakatauhia nga rehita, ka taea e te kaiwhakamahi I / O.Ka timata te taputapu ki te whakahaere i te hoahoa arorau i hangaia ki roto.
7. Te Whakahoutanga Kōwhiringa
Ka taea e koe te tarai i te huringa whakahoahoa ma te kukume i te NConfig iti, e whakahoki ana i te taputapu me te whakauru ano i te aratau whirihoranga.Ma tenei ka taea e te whakahoutanga tere, i roto i-punaha, te whakaora arorau ranei, me te tukanga whakahou katoa i te nuinga o te waa i raro i te 100 milliseconds.
• He whiringa tere-tere
Ko te EPF8820arc208-4 he toenga pai i waenga i te mahi me te utu, kia tere ake i te rereketanga -2 o raro raneiMa tenei ka taea te whakatutuki i nga whakaritenga o te waa me te kore e nui ake mo te ruuma kore.
• Te Whakataunga i nga Whakataunga Whakawhiti mo te Whakauru Mana
Nga mihi ki ona ara whakarara-pai me te whakaroa i nga huarahi roa, te Epf8820arc208-4 e whakarato ana i te waa tino maamaa.He whai hua tenei ki te whakahaere-a-rohe, ki te hoahoa-a-rohe ranei
• Te Whakahoutanga-I-Field Allfiguration
Ko tana hanganga-a-iwi e taea ai te whakahou i te 100 milliseconds, ka taea te whakahoutanga firmware me te arorau Fircback i roto i nga punaha ora.He mea nui tenei ki nga tono mamao, ki nga tono nui ranei i te wa e whakaitihia ana e te waa.
• Utu-whai hua
Mo nga tono e hiahia ana ki te 8,000 nga tatau o te punaha, ko te EPF8820RC208-4 e whakarato ana i te nui o te arorau kaore i runga i te nui o te FPGAS hou.Ma tenei ka iti te utu o te BOG i te wa e whakarite ana i nga whakaritenga mahi.
• He ngawari te whakauru i konatunatua
Ma te tautoko taketake mo te 3.3v me te 5v i / O / o te taputapu ka ngawari te hoahoa o te punaha i te wa e hono ana ki nga taonga tuku iho ranei.Ka whakakorea e tenei te hiahia mo nga kaitohu taapiri, te penapena poari me nga utu.
• Momo Pakihi: 208-pine RQFP (Paepae Tae Taumata)
• Te rahi o te tinana (D × e): 30.60 mm × 30.60 mm
• Whakaputuhia te Panui (D1 × E1): Tata ki te 28.00 mm × 28.00 mm
• Papa ārahi (e): 0.50 mm
• Roa te arahi (L): 0.60 mm angamaheni (awhe: 0.45 mm ki te 0.75 mm)
• Te whanui whanui (b): 0.17 mm te angamaheni (awhe: 0.17 mm ki te 0.27 mm)
• Ko te kokonga arahi: 0 ° ki te 8 °
• Momo Momo: Maunga Matapihi
Ko te Epf8820arc208-4 ka hangaia e te ALtera Corporation, he kamupene pionie i te mara o nga taputapu arorau whaitake (PLDS) me nga tohu-a-papa-paparanga (FPGAS).I hangaia tuatahitia e Altera te whanau 8000, na reira ko te taputapu tenei, e tuku ana i tetahi hoahoanga whakahoahoa mo nga tono arorau o te ao.I te tau 2015, i whakawhiwhia a Altera ki Intel Corporation, a, ka tautokohia te hua i raro i te roopu rongoa a Intel.Heoi, i roto i te 2024-2025, Intel Re-Open Alteraa hei waitohu tuuturu, te whakahoki ano i tana arotahi ki te whanaketanga FPGA me te tautoko mo te wa roa.Ahakoa kua tohua te EPF8820arc208-4 he mea kua tawhito, ka noho tonu tana taonga tuku iho ki te tuku i nga whakataunga pono, ngawari, me te whanaketanga whai hua.
Ko te EPF8820arc208-4 he maramara ngawari me te pono e tuku ana i te tere tere o te tere, nga waahanga, me te utu.He pai te mahi i roto i nga punaha rereke rereke na te mea ka taea te whakahou, te tautoko i nga waahanga rereke, me te pupuri i nga mahi pāngarau me te mana whakahaere.Ko tana hoahoa e awhina ana kia pai te neke me te tika.Ahakoa kua kiia inaianei he mea pakeke, kaore ano kia paahitia, he whai hua tonu i roto i nga punaha e hiahia ana kia taea ngawari te whakawhiti ki nga maramara hou.Ma tenei ka maarama te maarama mo nga whakahoutanga, whakatikatika, me te tautoko mo te waa-roa ranei o te hikonga tawhito.
Tena koa tukuna mai he uiui, ka whakautu wawe taatau.
Ae, ka whakamahia e ia te waahanga o waho, te whakarite ranei i nga kupu whakaari penei i te EPC1, epc1213 ranei hei uta i nga raraunga whirihoranga i te wa o te punaha whakaotinga, tautuhi ranei.
Tirohia to maataki mo nga pine e hiahiatia ana penei i te NConfig, Conf_Done, DCLK, me te raraunga0.Ano hoki, whakarite i to mahara whirihora (penei i te EPC1, epc12111111111111111111111111111 ranei) nga tikanga whirihoranga kua tohua ranei.
Kaore, ko te EPF8820arc208-4 e tautoko ana i te horahanga o te waahanga.Ko nga whakahoutanga, nga huringa arorau ranei e hiahia ana ki te bitstream tonu i te huringa whirihoranga paerewa.
Ae, mena kaore e tika te pupuri i te waa whirihoranga, tapatahi ranei, ka puta te pirau mo te puranga.Whakarite kia pai te kaha me te whakatau i te taha ki te taha o nga raina FPGA me nga whirihoranga.
Ahakoa kaore i te haumaru, he pai te taputapu mo te whakatinana i te arorau o te ritenga penei i nga miihini whakamunatanga taketake, ki te whakahaere i nga waahanga kua oti te hanga i tenei ra.
i te 2025/07/14
i te 2025/07/10
i te 8000/04/19 147784
i te 2000/04/19 112077
i te 1600/04/19 111352
i te 0400/04/19 83844
i te 1970/01/1 79648
i te 1970/01/1 67019
i te 1970/01/1 63140
i te 1970/01/1 63071
i te 1970/01/1 54099
i te 1970/01/1 52233