
Te Tohutohu7401kstz-140 Ko te kaihoroi ataata ngawari me te RGB whakairoiro mai i nga taputapu whakauru, kua hangaia hei hapai i nga momo whakaata ataata tae atu ki te pal, ntc, me te hōputu.Ko tenei maramara ka tu mo tona kaha ki te whakatau i nga waahanga RGB / YPRPB ataata me te whakatau i nga whakairoiro RGB me nga whakataunga tae atu ki te 1280 × 1024 i 75 HZ (SXGA).Ka whakamanahia e te wha o nga taapiri 10-bit e whakahaere ana i nga reiti whakatauira tae atu ki te 140 mhz, kia whakarite i te whakaputa-kounga nui mo te tono tono.Kei roto i te whanau ad7401 he maha nga tauira penei i te Adv7401BSTZ-110 me te ADD7401-80, e tautoko ana i te tauira tauira taapiri a ADC me te 80 mo te whakatau i a raatau whakaritenga whakataunga.Ko tenei ngawari e hanga ana i te Adv7401 Series he whiringa matua hei utu i nga pukenga tukatuka ataata.
Mena kei te rapu koe ki te whakanui i to raina hua me te taapiri ataata-a-mahi, ka tino taunaki matou ki te whakatakoto i tetahi ota nui ki a maatau mo te Adv7401Kstz-140.

|
Pin No. |
Mnemonic |
Tuhinga |
Mahi |
|
5, 11, 17, 40, 89 |
Tā |
Pē |
Whenua mamati. |
|
49, 50, 66 |
Taupunga |
Pē |
Whenua tārua. |
|
6, 18 |
DVDDIO |
Wh |
Mamati I / O OPSS TRACLE (3.3 V). |
|
12, 39, 90 |
DVDD |
Wh |
Taonga Tukunga Paerua (1.8 V). |
|
63 |
Aved |
Wh |
Taonga Taonga Taonga (3.3 V). |
|
47, 48 |
PVDD |
Wh |
PLL Tukuna te ngaohiko (1.8 V). |
|
51 |
Fb |
Ahau |
Te whakauru tere tere tere.Ko tenei tima pi i waenga i nga CVBS
me nga waitohu rgb. |
|
54, 56, 56, 58, 72, 74, 76, 53, 53, 57, 71, 73, 75 |
Ain1 ki Ain12 |
Ahau |
Ngaahi Whakauru Ataata. |
|
42, 41, 28, 26, 25, 9, 10, 9, 9, 7, 7, 9, 9, 9, 9, 9, 9, 9, 9, 9, 9
91 |
P2 ki te P9, P12 ki te P19 |
O |
Putanga Putanga Putanga Ataata Pika. |
|
33, 32, 31, 30, 29, 24, 14, 13 |
P22 ki P29 |
Ko / O |
Putanga Inputi / putanga putanga ataata. |
|
44, 43, 43, 21, 4, 4, 1, 100, 96, 96, 95, 98, 87, 87, 88,
84, 83 |
P0 ki te P1, P10 ki te P11, P20 ki te P21, P31 ki te P40 |
Ahau |
Te tauranga Inputid Pikitia. |
|
3 |
Iro |
O |
Haukotia.Ka taea e tenei pine te kaha ki te kaha, ki te kaha ranei.
I te wa e whakarereke ana nga waahanga SDP / CP i tenei PIN TIGGERS.Te huinga o nga huihuinga e
Ko te haukiri he aukati kei raro i te mana o te kaiwhakamahi. |
|
4 |
HS / CS |
O |
Ko te HS he tohu whakaputa tohu whakaahuru (SDP me te
Tauira CP).Ko te CS he tohu tukutahi whakahiato-a-ringa (a ka taea
i tohua i te aratau CP). |
|
99 |
Vs |
O |
Te Whakaputa Whakawhitiwhiti Whakawhitiwhiti Whakawhitiwhiti (SDP me CP
whakarerekētanga). |
|
98 |
Mara / de |
O |
Te Tohu Whakaputanga Whakaputanga Huarahi (Ataata Katoa Whakawhitiwhiti
whakarerekētanga).Ka taea hoki tenei PIN te taea hei raraunga ka taea te tohu tohu (de) i te aratau CP
Hei tuku hononga tika ki te HDMI / DVI TX. |
|
81, 19 |
SDA1, SDA2 |
Ko / O |
I²C Port TRE Serial Raraunga Whakauru / Pink Putanga.Ko SDA1 te raraunga
Raina mo te tauranga mana me te SDA2 ko te raina raraunga mo te panui VBI
tauranga. |
|
82, 16 |
SCLK1, SCLK2 |
Ahau |
I²C Port Karaka Karaka Karaka Serial (Max Kakano Taha 400 khz).
Ko Sclk1 te raina karaka mo te tauranga mana me te sclk2 ko te raina karaka mo
te tauranga panui raraunga VBI. |
|
80 |
Alsb |
Ahau |
Ka tohua e tenei PIN te whakauru i te Wāhitau I²C mo te Mana Adv7401
me nga tauranga Readback VBI.Ko te Alsb kua tautuhia ki te arorau 0 e whakatakoto ana i te wahitau mo te tuhi
Ko te tauranga whakahaere o te 0x40 me te wāhitau panui mo te tauranga VBI o 0x21.Alsb
Whakatakotoria ki te tohu arorau e whakaatu ana i te wahitau mo te tuhi ki te tauranga whakahaere o 0x42 me
Ko te wāhitau panui mo te tauranga VBI o 0x23. |
|
78 |
Tautuhi anō |
Ahau |
Tautuhi i te punaha, whakauru iti.He iti iti rawa te reeti
Whanui o 5 ms e hiahiatia ana hei tautuhi i te Adv7401 porowhita. |
|
Awa 36 |
LLC1 |
O |
Ko te LLC1 he karaka whakaputa-raina mo te raraunga pika
(ange ko te 12.825 mhz ki te 140 mhz mo te Adv7401kstz-140; 12.825 MHz ki te 110 mhz
Mo te Adv7401Bstz-110;12.825 MHz ki te 80 mhz mo te Adv7401Bstz-80). |
|
389 |
Atamira |
Ahau |
Ko te PIN whakauru ki te 28.63636 MHZ Crystal, ka taea ranei
Ko te puna o waho o te 3.3.63636 MHz Clock Clock Oscillator ki te karaka
Te Adv7401. |
|
37 |
Tuhinga o mua |
O |
Ka hono atu tenei PIN ki te Crystal 28.63636 MHZ, ka taea ranei
te whakamahi i te hononga ki te 33 v 28.63636 MHZ Karaka Oscillator Ka taea te whakamahi hei
karaka mo te adv7401.I roto i te aratau karaihe, me matua te karaihe. |
|
46 |
Matatika |
O |
Me hono te tātari i te Trop Ope ROP ki waho
Tenei PIN elpf. |
|
70 |
Whakamātautau0 |
Nc |
Me waiho tenei titi kia kore e herea, kia honoa ranei
ki te Agnd. |
|
59 59 |
Whakamātautau1 |
O |
Ko tenei PIN me waiho te aukati. |
|
15 |
SFL / tukutahi |
O |
Inicarrier Auau te raka (SFL).Kei roto i tenei PIN te
Ko nga riipene putanga rangatū ka taea te whakamahi ki te kati i te maha o nga waa
Ka hono atu tenei kaiwhakarato ki tetahi whakauru Ataata Ataata Ataata.
Ko te tukutahi ko te tohu whakaputa taapiri tapatapahi e waatea ana i roto i te aratau CP. |
|
64 |
Whakahou |
O |
Ko te putanga tohutoro o roto. |
|
65 |
Cml |
O |
PIN taumata-noa (cml) mo nga ADC o roto. |
|
61, 62 |
Capy1, Capy2 |
Ahau |
ADC Kaupae Paetukutuku. |
|
68, 69 |
Capc1, Capc2 |
Ahau |
ADC Kaupae Paetukutuku. |
|
67 |
Taratara |
O |
Ko te tohu o waho o waho.Tūhono i te tūtohutia
Orhor (1.35 kω) i waenga i te titi me te whenua. |
|
86 |
Hs_in / cs_in |
Ahau |
Ka taea te whirihora i roto i te aratau CP ki te waiho i te HS Mamati
tohu whakauru, he tohu whakaurunga CS ranei i whakamahia hei tango i te waa i roto i te 5-waea
Ranei 4-waea RGB waea. |
|
85 |
Vs_in |
Ahau |
Tohu tohu whakauru.Whakamahia i roto i te aratau CP mo te aratau wa waea 5-waea. |
|
79 |
De_in |
Ahau |
Ko nga raraunga ka taea te tohu whakauru.Whakamahia i roto i te whakaurunga mamati 24-bit
Aratau tauranga (hei tauira, ko te tukatuka i nga raraunga RGB 24-bit mai i te DVI RX IC). |
|
35 |
Dclk_in |
Ahau |
Tohu Whakauru Karaka.Whakamahia i roto i te aratau whakaurunga mamati 24-bit
(Hei tauira, ko te tukatuka i nga raraunga RGB 24-bit mai i te DVI RX IC) me te
Aratau Inppeting CVBS Input. |
|
52 |
Pupuhi |
Ahau |
Tukutahi i runga i te whakauru matomato.Whakamahia i roto i te aratau tukutahi. |
|
77 |
Hanga |
Ahau |
Tukutahi i runga i te whakauru luma.Whakamahia i roto i te aratau tukutahi. |
• Teitei-tere o te hurihanga-ki-Digital: Ko te Adv7401Kstz-140 kua whakauruhia ki nga kaitao-a-tau 10-iti-a-ringa (adcs) ka taea te whakahaere i nga utu taapiri tae atu ki te 140 mhz.Ko tenei kaha e taea ai te whakatau i nga tohu ataata teitei-taumira e pai ana, e tika ana mo nga tono tukatuka ataata matatau.
• He maha nga whakaurunga whakauru whakauru: Kei roto i tenei taputapu he maramara whakauru whakauru 12-hongere kei roto ko te tautoko i te tautoko tere tere.Ka taea e tenei taumahinga te whakawhiti i waenga i nga momo whakaataata Ataata e waatea ana, ka whakanohohia nga whakaritenga whakauru mo nga punaha ataata.
• Tautoko Paerewa Ataata Ataata: Ko te Adv7401Kstz-140 e tautoko ana i te whānuitanga o nga paerewa tae o te ataata, tae atu ki te NTSC, Pal, me te Secom.Ka taea hoki te tukatuka i nga waahanga ataata o te waahanga penei i te 525p, 625p, 720p, me te 1080i, te whakarite i te hopohatu ki nga momo pikitia ataata ao me nga whakataunga.
• Whakaputa Whakairoiro: Ka taea te whakarereke i nga whakairoiro RGB ki nga whakataunga o te 1280 × 1024 i te 75 Hz (SXGA), ko te Ad7401Kstz-140 te mea pai mo nga tono whakairoiro-teitei me te hainatanga mamati me te hainatanga mamati.
• Te hurihanga wāhi tae matatau: Ka whakauruhia te taputapu ki te 3 × 3 te hurihanga o te tae-a-tae-a-tae e whakahaere ana i te hurihanga tika i waenga i nga waahi tae rereke, penei i te YCRCB ki RGB me te waahi.He pai tenei waahanga mo te pupuri i te tika me te kounga o nga tono rongorau.
• Tauranga whakaurunga mati: Ko te Adv7401kstz-140 kei roto i te tauranga whakaurunga mamati 24-bit e tautoko ana i nga raraunga mai i nga kaiwhiwhi DVI / HDMI.Ko tenei waahanga ka whakarei ake i te hototahi o te maramara me nga puna ataata ataata hou, ka whakauruhia ki te whānuitanga o nga punaha rongorau.
• Ko nga hononga ProgramPable : Ka tuku i tetahi atanga whakaputa whaihua ka taea te whakanoho ki te 12-bit 4: 4: 4, 8-bit 4: 2: 2 rearua raraunga rua (DDR) nga whakatakotoranga whakaputa pika (DDR).Ma te ngawari e whakarite te putanga ka taea te whakarite kia tutuki ai nga hiahia tono motuhake, ahakoa mo nga taputapu panui, i te hikohiko ranei.

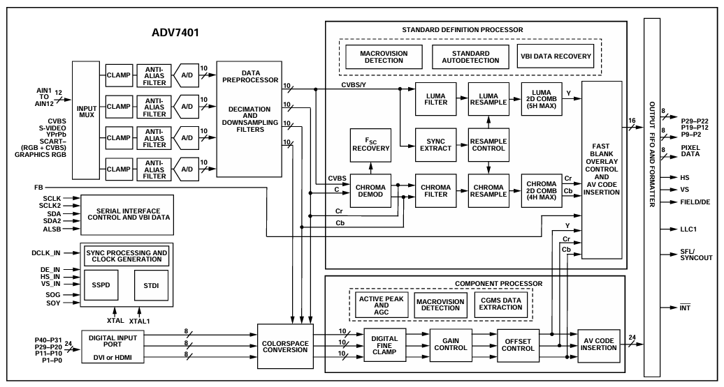
Tuhinga o mua Tohutohu7401kstz-140 e whakaatu ana i nga poraka mahi a roto o tenei kaiwhakatakotoranga ataata me te Digitizer, e whakaatu ana me pehea te tukatuka i nga tohu ataata whakaata i roto i te putanga mamati.Ka tautokohia e te maramara nga whakatakotoranga whakauru maha penei i CVBKāore, S-ataataKāore, Ypbpr, me Rgb, Katoa nga whakaeke na roto i te Mux Input e whiriwhiri ana i waenga i te 12 whakauru whakauru (AIN1 ki AIN12).Ia tohu tohu kua paahitia na roto i te Pēhi me Anti-alias tātari Hei whakarite i te tohu mo te whakaurutanga na tetahi o nga kaitahuri-ki-ma-a-ringa-ki-mamati (a / d).
Kotahi te hainatanga, kua tukatukia nga tohu i roto i te Raraunga Whakaputanga Raraunga, kei roto Whakataunga me Tātari Whakawhitiwhiti Hei whakaiti i nga reiti raraunga ka whakarite i nga tohu mo te tukatuka ake.Kei runga i te momo whakauru, ka taea te tukatuka i te ataata na roto i te Te tukatuka whakamāramatanga paerewa ko te Kaituku Pūkana.Te SD Pū tukatuka Ka mau i nga tohu tohu me nga tohu ataata, te mahi i nga mahi penei HeiromiKāore, Luma me te tātari kromaKāore, Whakakotahitia te tātari, me Utu, ko te whakarite i te wehenga o te maamaa me nga waahanga khumance.Kei roto ano hoki nga mahi penei Te kitenga makrovision me Whakaora Raraunga VBI.
Mo te ataata waahanga, te Kaituku Pūkana Ko te kawenga mo nga mahi penei Whiwhi mana whakahaereKāore, Whakatikatika Whakatikatika, me Te tihi kaha me Agc whakatikatika.Kei roto i te reira Cgms me Mākuku Te kitenga raraunga mo te Whakatutuki i te kape.I tua atu, kei reira Te hurihanga o te colorpace Hei urutau Ycbcr rānei Rgb Nga tohu ki te whakatakotoranga putanga e hiahiatia ana.Nga tohu katoa i whakahaerehia i roto i te Putanga FIFO me Fapplter, i reira ka whakahoutia, ka whakahiatohia, ka tukutahi i mua i te putanga mai i te mea ko te raraunga pika pika me nga tohu tukutahi me nga tohu taapiri penei HSKāore, VsKāore, Mara / deme etahi atu.Ka whakaatu hoki te hoahoa i nga tautoko mo DVI rānei Hsmi Input ma te tauranga mamati 8-bit me te whakauru Rangatū Whakahaere Atanga Mo te whakawhitiwhiti korero me te whirihoranga.
|
Tuhinga |
Parapara |
|
Kaimahitaonga |
Anulog Agoces Inc. |
|
Whiu |
Heri |
|
Wahanga Mana |
Kakama |
|
Mahi |
Decider, diutizer |
|
Tono |
Ataata Kaihoko |
|
Paerewa |
ITU-R BT.656, NTSC, Pal, Secom |
|
Mana Whakahaere |
Rangatū |
|
Ngaohiko - toha |
1.65v ~ 3.6v |
|
Momo Momo |
Maunga Matapihi |
|
Paati / Take |
100-LQFP |
|
Ko te kete taputapu taputapu |
100-LQFP (14x14) |
|
Tau hua hua |
Tohutohu7401 |
Nga pouaka whakaata-teitei (HDTVS)
Ko te Adv7401Kstz-140 e whakamahia ana i roto i nga momo HDTV, tae atu ki te LCD, DLP ™, Plasma, me nga tauira CRT, ki te whakatau me te tukatuka i te maha o nga tohu ataata.Ko tona kaha ki te hapai i nga paerewa panui maha me nga whakatakotoranga nui hei whai waahi nui mo te whakarite i te taapiri me te whakaputa ataata kounga nui i roto i te hangarau pouaka whakaata.
Kaiwhakatū
Ko tenei kaiwhakawhitiwhiti ataata he mea nui i roto i nga kaupapa LCD me te DLP, kei reira te whakarei ake i nga kaha tukatuka ataata.Ka taea e ia te whakaatu tika i nga tuhinga a-tino-whakarite, he pai mo nga huinga whare tapere e rua me nga taiao whakaaturanga ngaio.
Pouaka-runga (stbs) me te kaiwhakamahara ataata whaiaro (PVR)
I roto i nga pouaka-runga, ko te Adv7401Kstz-140 te whakahaere i te hurihanga o nga momo whakaaturanga ataata, kia tiro me te tuhi i nga tuhinga mai i nga puna rereke.Ko tenei waahanga e tautoko ana i te taumahinga o nga kaiwhakamahara ataata whaiaro, tirohia te tirohanga me te tuhi tuhi.
Nga kaiwhiwhi ataata-ataata (AVRS)
Ko te maramara whakarei ake i nga kaiwhiwhi oro-ataata ma te whakauru i nga kaha hurihuri ataata pakari me te whakahaere oro.He pai tenei whakawehe mo nga AVRS i whakamahia i roto i nga punaha whakangahau kaainga, e whakarato ana i tetahi oro me te wheako oro me te wheako ataata i roto i te taputapu kotahi.
Ka taea te kaihuri matapae multiformat
Ko te Adv7401Kstz-140 e whakamahia ana i nga kaihuri matawai multiformat ki te awhina i nga tohu ataata i waenga i nga whakatakotoranga me nga whakataunga.He pai tenei tono hei whakarite i te taapiri me te pupuri i te kounga ataata puta noa i nga hangarau whakaatu me nga paerewa whakaatu rereke.
Nga Kaipupuri DVD me te tautoko whakauru a Scan Bank
I roto i nga Kaipupuri DVD, ko te Adv7401Kstz-140 te mahi ma te whakatau me te tuhi tohu tohu taumai, tautoko i nga whakauru matamata.Ko tenei kaha e tuku ana i nga kaiwhakamahara DVD ki te hopu me te rokiroki i nga tuhinga ataata kounga nui, whakarei ake i te kounga tuhi katoa.
1. Tīpakohia te aratau tuatahi (prim_mode) me te paerewa ataata (vid_std): He mea nui te aratau tuatahi me te tohu paerewa ataata i te mea e whakatau ana me pehea te whakamaoritanga o te Adv7401Kstz-140 te tohu ataata taumai.Ko te rehitatanga prim_mode e tohu ana i te whakatakotoranga tuatahi o te whakaaturanga ataata (e.g., NTSC, Pal), i te wa e whakaatu ana te rehitatanga VID_STD i nga taipitopito paerewa (e.g., 525i, 625i, 625i, 625i, 625i, 625i, 625i, 625i, 625i, 625i, 625i, 625i, 625i, 625i, 625i, 625I).Ko te whakarite i enei rehita e whakarite kia taea e te kaikopene ataata te whakahaere i nga tohu motuhake o te tohu whakauru, penei i te reanga me te whakatau.
2. Whiriwhiria te karaka tohu (latch_clk): He mea nui te whakanoho o te karaka ki te tukutahi i te tukatuka o nga raraunga ataata.Ma te whakariterite i te rehitatanga o te Latch_Cl, ka whakatika koe i te waa o te raina raraunga hei rite ki te huringa o te Pixel mo te ataata whakauru.He mea nui tenei mahi kia mau tonu te kaiwhakawhitiwhiti ataata me te tukatuka ia pika i te wa e tika ana, ko te karo i nga take, i te pirau ranei.
3. Whakatakotoria te reanga wehewehe a Pll: Ko tenei taahiraa e pa ana ki te whakatakoto i te paanga o te PLL (Rārangi-a-Rohe) te paanga mo te whakaputa i te putanga karaka o te Pixel i te waa whakauru.Ma te whakahoutanga i te mana whakahaere (Pll_div_man_en_en) me te whakariterite i te Pll_div_ratio, ka taea e koe te whakakii i te karaka Pixel ki te whakatutuki i nga hiahia motuhake o to whakaaturanga, i te punaha tukatuka ranei.He pai tenei mana whakahaere mo te pupuri i te pono o te tohu me te tukutahi puta noa i to mekameka tukatuka ataata.
4. Whirihorahia te Vco Any Rererangi me nga Whakapanga Papu Pll: Ko te whakatakoto i te VCO (te Oscillator-Whakahaere-Whakahaerehia te Oscillator) me te whakatikatika i te papura mo te Plll Pare papu he mea nui ki te whakatuu i te waa o te karaka Pika.Ko te VCO_range me nga rehita Pll_QPump ka taea e koe te whakarite i te mahinga o te PLL i raro i nga momo whakahaere, ka mau tonu te karaka whakaputa me nga whakaritenga e tika ana mo te pirau ataata pono.
5. Whakatakotoria te roa raina-rere (fr_ll): I roto i nga ahuatanga ka ngaro, kua ngaro ranei te whakauru ataata, ka awhina te tautuhi raina roa-kore ki te pupuri i te whakaputa riterite ma te kii i te roa o te raina i te aratau koreutu.Ma te tātai me te whakatakoto i te rehitatanga FR_L Rehita i runga i te waa kua whakaritea, ka taea e te Ad7401kstz-140 te whakaputa i nga papa ataata me te pai mo nga tono e hiahia ana ki nga tono ataata tonu.
Pūtoto Hoahopu
Ko te Adv7401Kstz-140 e tu ana mo tona kaha ki te tautoko i te maha o nga paerewa ataata tae atu ki te NTSC, pal, me nga whakatakotoranga teitei penei i te 720p me te 1080i.Ka taea e ia te whakahaere i nga whakairoiro RGB tae noa ki te taumira sxga.Ma tenei whakahiatotanga whanui te whakamahi i te maramara i roto i nga tono rereke me te kore e awangawanga mo te aukati i te hōputu.
Te tukatuka ataata kounga nui
Ko te taputapu e wha nga taapiri 10-bit ka taea te tauira ki te 140 mhz, ko te Adv7401Kstz-140 te whakarite i te tukatuka ataata kounga nui.Ko tenei kaha ka taea e ia te hopu me te huri i nga tohu ataata me te maarama whakapai me te tika o te tae, te whakarato me te whakaputa pai ataata.He painga tenei ki nga tono kei reira te kounga o te ataata, penei i te rongoa rongoa, me te haaataki-whakamāramatanga, me nga punaha tirotiro.
Hoahoa Pūnaha Taha
Ma te whakauru i nga tohu whakaata ataata me nga mahi whakairoiro RGB ki te maramara kotahi, ko te Ad7401kstz-140 te whakatika i te hoahoa punaha katoa.Ko tenei whakaurunga ka whakaiti i te maha o nga waahanga e hiahiatia ana i roto i te waahanga hoahoa, hei utu mo nga penapena utu mo nga taonga me nga huihuinga.Ka whakarei ano hoki i te whaikorero a te punaha na te iti ake o nga hononga me nga tohu pea o te kore e oti te otinga mo nga punaha rongorau matatini.
Kōwhiringa Putanga ngawari
Ko te taputapu e tuku ana i nga hononga whakaputa ngawari, e kaha ana ki te tautoko i te 12-bit 4: 4: 4 me te 8-Bit 4: 2: 2 Te Raraunga Raraunga Tuarua (DDR).Ka taea e tenei waatea te whakarite i te whakatakotoranga putanga e pa ana ki o raatau whakaritenga tono, ahakoa he pono te tae mo te hainatanga mamati, ki nga whakatakotoranga pixel ranei mo nga hononga ataata.Ka taea e tenei whakatikatika te whakarite kia taea te whakamahi i te Adv7401Kstz-140 puta noa i nga momo mutunga.
Te mahi pono i roto i nga momo ahuatanga
I hoahoatia hei whakahaere i roto i te whānuitanga o te pāmahana ahumahi o te -40 ° C, ka hangaia te Ad7401Kstz-140 hei mahi pono i nga ahuatanga taiao.Ko tenei pakari e tika ana mo te whakamahi i nga tono o waho, nga waahanga ahumahi, me etahi atu ahuatanga kei te awangawanga te rereketanga o te pāmahana.Ka taea e koe te whakawhirinaki ki te taputapu kia mau tonu ai nga mahi, ahakoa ko nga wero wera e pa ana ki nga taiao whakahaere.
|
Parapara |
Rahi (MM) |
|
Rahi o te tinana (angamaheni) |
14.00 × 14.00 |
|
Rahi o te tinana (min - max) |
13.80 - 14.20 |
|
Te nuinga o te Span (Min - Max) |
15.80 - 16.20 |
|
Te teitei o te kete (teitei) |
1.6 |
|
Te teitei o te tinana (min - max) |
1.35 - 1.45 |
|
Te Whanui (Min - Max) |
0.17 - 0.27 |
|
Te papaa arahi (mokowhiti taketake) |
0.5 |
|
Te arahi i te teitei tuunga |
0.05 - 0.15 |
|
Ko te awhi koki arahi |
0 ° - 7 ° |
|
Arahi coplanarity (teitei) |
0.08 |

Ko te Adv7401kstz-140 he kaiwhakatakoto ataata puoro me te tohu whakairoiro me te whakairoiro whakairoiro e hangaia ana e Anulog Agoces Inc., he kaiarahi rongonui i roto i te umanga semiconductor.E mohiotia ana mo o raatau auahatanga me te pono, nga taputapu taatai i roto i te whakawhanaketanga me te whakaputa i te whānuitanga o nga waahanga whakauru mo nga tono tukatuka tohu.Ko nga tohungatanga o te kamupene e whakarite ana ko te Adv7401Kstz-140 te kaha ki te tuku i te Whakanoho Ataata o Te Maatauranga, e tautoko ana i te maha o nga whakatakotoranga ataata me nga paerewa rongo mo nga tono rongorau.
Ko te Adv7401Kstz-140 e tu ana hei otinga pakari me te ngawari mo te akiaki i nga mahi tukatuka tohu.Ma te tautoko mo nga paerewa ataata maha, ko te whakahiatotanga a te RGB teitei-taumira, me te mahi puta noa i te ahumahi o te ao, ka tukuna e te pono me nga taiao ngaio.Ahakoa whakarei ake i nga punaha rongorau, te tuhi i nga hoahoanga hoahoa, hei whakarite ranei i te hoputanga puta noa i nga momo ahua, ka tukuna e tenei kaiwhakarato / Digitizer nga painga.Ko te Adv7401kstz-140 te noho tonu me te waahanga e whai ake nei mo nga tono ataata whakauru.
Tena koa tukuna mai he uiui, ka whakautu wawe taatau.
Ko te Adv7401Kstz-140 ka wehe i tana huinga o te 4-STIC ADC-tere e whakahaere ana i te 140 mhz, tautoko mo nga tohu SXGA, me tona kaha ki te tarai i nga tohu whakairoiro me te RGB.Ka uru hoki ki te hurihanga o te tae-tae-waahi, te kitenga ma te Maaka, me nga hononga Explevisible, he pai ki nga tono e hiahiatia ana e te kounga me te whakakotahitanga.
Kaore i te tika.Ko te Adv7401Kstz-140 kaore he tangata rangatira HDMI, engari ka taea e ia te whakaae ki te whakauru whakauru mamati ma te IC o te Kaipupuri HDMi, DVI ranei, penei i nga ADGIAL Sciences ADV7611.Ma tenei ka taea e koe te piriti i nga puna HDMI ki to punaha ma te whakamahi tika i tenei maramara.
Kaua e maumahara taapiri mo nga mahi taapiri taketake, engari i runga i to hoahoanga punaha, ka hiahiatia he kaiwhakaari o to punaha ki te whirihora i te maramara ma te tuhi i nga raraunga ataata.I roto i nga punaha-mutunga, he maha tonu nga wa me te FPGAS, i te DSP ranei mo te tukatuka.
Ahakoa ko te uara tika kei runga i to whirihoranga me te whakamahi i nga ADC me nga tauranga Putanga, ko te Wehenga Whakakorenga hiko i waenga i te 0.8 W me te 1.2 W i raro i te taumaha.Tirohia nga aratohu a te Datasheet me nga hoahoa hakinakitanga hei whakarite kia pirau te wera.
Ae.Ko te Adv7401Kstz-140 te tautoko i te kitenga paerewa ataata aunoa puta noa i te NTSC, pal, me te whakauru i nga whakauru.Ma te whakamahi i ana rehita-aunoa, ka taea e to punaha te whakawhiti i waenga i nga whakatakotoranga kaore i te wawaotanga o te kaiwhakamahi, he pai mo nga taiao maha.
i te 2025/04/3
i te 2025/04/3
i te 8000/04/17 147721
i te 2000/04/17 111795
i te 1600/04/17 111329
i te 0400/04/17 83653
i te 1970/01/1 79384
i te 1970/01/1 66811
i te 1970/01/1 62968
i te 1970/01/1 62868
i te 1970/01/1 54050
i te 1970/01/1 52032